Carvilleshop — фирменный магазин
брендов LUZAR,
AIRLINE, TRIALLI, STARTVOLT и CARVILLE RACING
Carvilleshop
О компании
Точки продаж
Гарантия
Материалы
Новости
Контакты
Вопрос-ответ
Обучение LUZAR
Академия LUZAR
Обучающая библиотека
Каталог
Отмена
Подобрать по авто или VIN
Подберите детали
для своего автомобиля
для легковых и грузовых автомобилей
Запросить подбор по VIN
Подобрать по авто или VIN
Фильтры по автомобилям
Марка
ABARTH
AC
ACURA
ACURA|Акура
AEOLUS
AGRALE
AIXAM
ALEXANDER DENNIS
ALFA ROMEO
ALPINA
ALPINE
АМКОДОР
ARO
ARO|амарок|камаро|камара|карок|виваро
ASIA MOTORS
ASKAM
ASTON MARTIN
ASTRA
ASTRA|астра
AUDI
AUDI|Ауди
AUSTIN
AUTOBIANCHI
AUVERLAND
AYATS
AYATS|атс
AZLK
AZLK|Москвич
BAIC
BAIC WEIWANG
BARKAS
BASAK
BAW
BEDFORD
BEDFORD|форд
BEIJING
BELARUS
BELAZ
BELAZ|Белаз|Лаз
BELGEE
BENTLEY
BENTLEY|Бентли
BERKHOF
BERTONE
BERTONE|уан|ван|оне
BESTUNE
BESTURN (FAW)
BITTER
BMC
BMW
BMW|бмв
BMW (BRILLIANCE)
BMW (BRILLIANCE)|бмв
BOGDAN
BOGDAN|Богдан
BOVA
BREDAMENARINIBUS
BRILLIANCE
БРЯНСКИЙ АРСЕНАЛ
BUHLER VERSATILE
BUICK
BYD
CADILLAC
CADILLAC|Кадиллак|Кадилак
CAMC
CARBODIES
CASE
CASE IH
CATERHAM
CATERPILLAR
CHANGAN
CHENGLONG
CHERY
CHERY|Чери
CHEVROLET
CHEVROLET|Шевроле
CHEVROLET (SGM)
CHEVROLET (SGM)|Шевроле
CHRYSLER
CHRYSLER|Крайслер
CHTC AUTO
ЧТЗ
CITROËN
CITROEN
CITROEN|Ситроен
COWIN
CUPRA
DACIA
DACIA|Дациа
DAEWOO
DAEWOO|Деу|Дэу
DAF
DAF|Даф
DAIHATSU
DAIHATSU|Дайхацу|атс
DAIMLER
DATSUN
DATSUN|Дацун|атс
DAYUN
DERWAYS
DEUTZ-FAHR
DFSK
DIUTTON
DODGE
DODGE|Додж
DONG FENG
DONGFENG
DONGFENG CHAOLONG
DONINVEST
DS
EBRO
ELARIS
EMGRAND
EMGRAND (GEELY)
ENGLON (GEELY)
ERF
EXEED
EXEED (CHERY)
EXEED (CHERY)|Чери
FAW
FAW (JILIN)
FEIDI
FENDT
FERRARI
FIAT
FIAT|Фиат
FORD
FORD|форд
FORD ASIA & OCEANIA
FORD ASIA & OCEANIA|форд
FORD AUSTRALIA
FORD AUSTRALIA|форд
FORD (CHANGAN)
FORD (CHANGAN)|форд
FORD OTOSAN
FORD OTOSAN|форд
FORD USA
FORD USA|форд
FOTON
FOTON|Фотон|Фатон
FPV
FREIGHTLINER
FSO
FUSO (MITSUBISHI)
FUSO (MITSUBISHI)|Мицубиши|Мицубиси|Митсубиши|Митсубиси
GÜLERYÜZ
GAC
GAC|легаси
GALAZ
GALAZ|Галаз|Лаз
GALLOPER
GALLOPER|галлопер|галопер
GAZ
GAZ|Газ|газель|газель бизнес|газель некст|газон некст
GEELY
GENESIS
GENESIS|генезис|генесис|дженесис|дженезис|генезис купе|генесис купе|дженесис купе|дженезис купе
GEO
GEO|Пежо
GINAF
GINETTA
GLEAGLE (GEELY)
GMC
GOLDEN DRAGON
GOLDEN DRAGON|Голден Драгон
ГОМСЕЛЬМАШ
GREAT WALL
GREAT WALL|Греат Волл|Греат Вол|Грейт Вол|Грэйт Вол|Грейт Волл|Грэйт Волл
GRECAV
GRUAU
HAFEI
HAIMA (FAW)
HAVAL
HEULIEZ
HIDROMEK
HIGER
HIGER|Хаэр|Хаер
HINO
HINO (GAC)
HOLDEN
HONDA
HONDA|Хонда
HONGQI
HOWO
HSV
HUMMER
HUMMER|Хаммер|Хамер
HYUNDAI
HYUNDAI|Хёндай|Хундай
HYUNDAI (BEIJING)
HYUNDAI (BEIJING)|Хёндай|Хундай
INDIGO
INFINITI
INNOCENTI
INOKOM
INTERNATIONAL
INTERNATIONAL HARV.
IRISBUS
IRIZAR
IRMSCHER
ISDERA
ISH
ISH|Мицубиши|Мицубиси|Митсубиши|Митсубиси
ISUZU
ISUZU|Исузу
IVECO
IVECO|Ивеко
IZH
IZH|Иж
JAC
JAECOO
JAGUAR
JAGUAR|Ягуар|ягуар
JCB
JEEP
JEEP|Джип
JETOUR
JETTA
JETTA|джетта
JIEFANG (FAW)
JMC
JOHN DEERE
KAIYI
KAMAZ
KAMAZ|Камаз|Маз
KAROSA
KARRY
KAVZ
KAVZ|Кавз
KAWASAKI
ХТЗ
KIA
KIA|Киа
KIA (DYK)
KIA (DYK)|Киа
KING LONG
KING LONG|Кинг Лонг
KOBELCO
KOMATSU
KOMATSU|атс
KRAMER
KRAZ
KRAZ|Краз
KTM
КТЗ
LADA
LADA|ваз|лада|жигули|vaz|нива
LAMBORGHINI
LANCIA
LANCIA|Лянча
LAND ROVER
LAND ROVER|Лэнд Ровер|Ленд Ровер|Ровер
LANDINI
LAZ
LAZ|Белаз|Галаз|Лаз|трэйлблэйзер|трейлблейзер
LDV
LDV|Лдв
LEXUS
LEXUS|Лексус
LEYLAND
LI XIANG
LIAZ
LIAZ|Лиаз
LIAZ BUS
LIAZ BUS|Лиаз
LIFAN
LIFAN|Лифан
LIGIER
LINCOLN
LIXIANG
LOTUS
LTI
LTI|мултипла|мультивен|мультивэн
LUAZ
LUAZ|Луаз|УАЗ
LYNK & CO
MACK
MAHINDRA
MAN
MAN|Ман|клабмэн|клабмен|клубмэн|клубмен|кантримен|кантримэн|пэйсмен|пейсмен|пэйсмэн
MARBUS
MARUTI
MARUTI SUZUKI
MARUTI SUZUKI|Сузуки
MASERATI
MAYBACH
MAZ
MAZ|Камаз|Маз|Мазда
MAZ-MAN
MAZ-MAN|Ман|Маз
MAZDA
MAZDA|Маз|Мазда
MEGA
MEGA|меган|омега|амега
MERCEDES-BENZ
MERCEDES-BENZ|Мерседес
MERCURY
METROCAB
MG
MG (SAIC)
MICROCAR
MIDDLEBRIDGE
MINI
MINI|Мини
МИТРАКС
MITSUBISHI
MITSUBISHI|Мицубиши|Мицубиси|Митсубиши|Митсубиси
MORGAN
MORRIS
MOSCVICH
MOSKVICH
MTZ
MTZ|МТЗ
MULTICAR
NAC IVECO (NAVECO)
NAC IVECO (NAVECO)|Ивеко
NAZA
NEFAZ
NEFAZ|Нефаз
NEOPLAN
NEOPLAN|Неоплан
NEW HOLLAND
NISSAN
NISSAN|Ниссан
NISSAN (DFAC)
NISSAN (DFAC)|Ниссан
NISSAN (DONGFENG)
NISSAN (DONGFENG)|Ниссан
NSU
OLDSMOBILE
OLTCIT
OMODA
OPEL
OPEL|Опель
OPTARE
OTOKAR
PANTHER
PAZ
PAZ|Паз
PERODUA
PEUGEOT
PEUGEOT|Пежо
PIAGGIO
PININFARINA
PLAXTON
PLYMOUTH
POLESTAR
PONTIAC
PORSCHE
PORSCHE|Порш|Порше
PROTON
PROTON|Протон
ПТЗ
PUCH
RAM
RAVON
RAVON|рав
RAYTON FISSORE
RELIANT
RENAULT
RENAULT|Рено
RENAULT (DFAC)
RENAULT (DFAC)|Рено
RENAULT TRUCKS
RENAULT TRUCKS|Рено
ROAZ
ROAZ|Роаз
ROEWE (SAIC)
ROLLS-ROYCE
ROLLS-ROYCE|Роллс-Ройс
РОСТСЕЛЬМАШ
ROVER
ROVER|Лэнд Ровер|Ленд Ровер|Ровер|рендж ровер эвок|рэнжровер эвок|рендж эвок|ровер эвок|рэндж ровер эвок|рендж ровер|рэнжровер|рендж|ровер|рэндж ровер|рендж ровер спорт|рэнжровер спорт|рендж спорт|ровер спорт|рэндж ровер спорт
SAAB
SAAB|Сааб
SAMSUNG
SANTANA
SANY
SATURN
SAZ
SAZ|Саз
SCANIA
SCANIA|Сканиа
SCION
SEAT
SEAT|Сеат|Сиат
SEAZ
SEAZ|Сеаз|Сиаз
SETRA
SHAANXI
SHACMAN
SHACMAN|Ман
SINOTRUK (CNHTC)
SISU
SITRAK
SKODA
SKODA|Шкода
SMART
SMART|Смарт
SOLARIS
SOLARIS|солярис
SOLLERS
SOLLERS|дукато соллерс
SOUEAST
SPERANZA
SSANGYONG
SSANGYONG|Санг Ёнг|СсангЁнг|Ссанг Ёнг|Санъёнг|Санъён
STEYR
SUBARU
SUBARU|Субару
SUZUKI
SUZUKI|Сузуки
TAGAZ
TAGAZ|Газ
TALBOT
TANK
TATA
TATSA
TATSA|атс
TEMSA
TERBERG-BENSCHOP
TEREX
TESLA
TIANYE
TOFAS
TOYOTA
TOYOTA|Тойота|Тоёта
TOYOTA (FAW)
TOYOTA (FAW)|Тойота|Тоёта
TOYOTA (GAC)
TOYOTA (GAC)|Тойота|Тоёта
TRABANT
TRIUMPH
TROLIGA BUS
ТВЭКС
TVR
UAZ
UAZ|Луаз|УАЗ
UD TRUCKS
URAL
URAL|Урал|урал некст
UZ-DAEWOO
UZ-DAEWOO|Деу|Дэу
VALTRA
VAN HOOL
VAUXHALL
VDL
ВГТЗ
VIS
VIS|Вис
VISEON
VISEON|Вис
VOLGA
VOLGA|Волга|Волгабас|Волгабаз|волга сайбер|волга сибирь
VOLGABUS
VOLGABUS|Волга|Волгабас|Волгабаз
VOLKSWAGEN
VOLKSWAGEN|Вольксваген|Фольксваген|Фольтсваген
VOLVO
VOLVO|Вольво
VORTEX
VOYAH
VW
VW (FAW)
VW (SVW)
WARTBURG
WEY
WIESMANN
WIESMANN|Ман
XCITE
XU GONG
YAMAHA
YUEJIN
YUGO
YULON
YUTONG
YUTONG|Ютонг
ZASTAVA
ZAZ
ZAZ|Заз
ZAZ-DAEWOO
ZAZ-DAEWOO|Деу|Дэу|Заз
ZEEKR
ZHONGTONG
ZIL
ZIL|Зил
ZOTYE
Модель
Модификация
Категория
Радиаторы
Насосы водяные
Вентиляторы
Термостаты
Компоненты системы охлаждения
Компрессоры кондиционера
Компоненты системы кондиционирования
Компрессоры воздушные
Насосы гидравлические
Турбокомпрессоры
Фильтры
Прокладки двигателя
Детали двигателя
Сопутствующие товары
Электрооборудование
Сувенирная продукция
Найти
Главная
Каталог
Подбор
Избранное
Корзина
Главная
Каталог
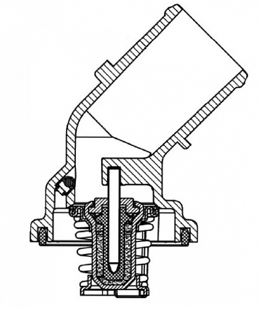
Термостаты
Термостаты
Термостаты
Подобрать по автомобилю
Категория
Термостаты
Корпусы термостатов
Термостаты
Марка
Модель
Модификация
Найти
Фильтры
Всего товаров:
443
MARKA
Все
abarth (
1
)
alfa-romeo (
1
)
audi (
43
)
azlk (
3
)
baic (
1
)
beijing (
1
)
belgee (
2
)
bmw (
24
)
byd (
2
)
cadillac (
3
)
changan (
5
)
chery (
6
)
chevrolet (
46
)
chrysler (
4
)
citro-n (
34
)
citroen (
27
)
dacia (
5
)
daewoo (
11
)
daf (
5
)
datsun (
15
)
dodge (
3
)
dongfeng (
2
)
emgrand (
1
)
exeed (
2
)
exeed-chery (
2
)
faw (
2
)
fiat (
16
)
ford (
27
)
ford-usa (
5
)
foton (
1
)
gac (
1
)
gaz (
16
)
geely (
6
)
genesis (
2
)
great-wall (
4
)
haval (
6
)
honda (
9
)
howo (
1
)
hummer (
1
)
hyundai (
20
)
infiniti (
6
)
isuzu (
1
)
iveco (
8
)
izh (
5
)
jac (
3
)
jaecoo (
1
)
jaguar (
3
)
jeep (
5
)
jetour (
2
)
jetta (
2
)
jiefang-faw (
1
)
kaiyi (
1
)
kamaz (
11
)
kia (
18
)
kraz (
4
)
lada (
51
)
lancia (
3
)
land-rover (
8
)
lexus (
12
)
liaz (
3
)
liaz-bus (
3
)
lifan (
2
)
lincoln (
1
)
lti (
2
)
luaz (
2
)
man (
4
)
maz (
7
)
mazda (
12
)
mercedes-benz (
25
)
mini (
6
)
mitsubishi (
9
)
moscvich (
6
)
moskvich (
6
)
mtz (
3
)
new-holland (
1
)
nissan (
20
)
nissan-dfac (
1
)
omoda (
3
)
opel (
39
)
paz (
3
)
peugeot (
36
)
porsche (
2
)
ravon (
3
)
renault (
25
)
renault-trucks (
4
)
rostselmash (
1
)
saab (
3
)
scania (
8
)
seat (
31
)
shaanxi (
3
)
shacman (
2
)
sitrak (
1
)
skoda (
39
)
smart (
1
)
sollers (
2
)
ssangyong (
6
)
subaru (
4
)
suzuki (
5
)
tagaz (
1
)
tank (
2
)
terex (
1
)
toyota (
17
)
toyota-faw (
4
)
uaz (
4
)
ural (
4
)
van-hool (
1
)
vis (
14
)
volkswagen (
44
)
volvo (
23
)
vw (
59
)
xcite (
1
)
zaz (
5
)
zil (
4
)
MODEL
Все
1 (
11
)
1-convertible (
4
)
1-coupe (
6
)
1-e81-e87-04- (
7
)
1-f20-f21-11- (
1
)
100-82- (
2
)
100-90- (
1
)
100-c2-avant (
2
)
100-c2-saloon (
2
)
100-c3-avant (
2
)
100-c3-saloon (
2
)
100-c4-avant (
3
)
100-c4-saloon (
3
)
1007 (
7
)
1007-05- (
4
)
100nx (
1
)
1025 (
1
)
106-96- (
1
)
106-ii (
2
)
107 (
1
)
107-05- (
1
)
110 (
10
)
1105-dana (
1
)
111 (
10
)
1111-oka (
3
)
112 (
10
)
1200-1500-estate-zhiguli (
5
)
1200-1600-zhiguli (
5
)
124-coupe (
1
)
124-saloon (
2
)
124-t-model (
2
)
1302 (
2
)
190 (
1
)
2 (
1
)
2-07- (
1
)
2-active-tourer (
1
)
2-convertible (
2
)
2-coupe (
4
)
2-f22-13- (
3
)
2-gran-tourer (
1
)
200-c2-saloon (
1
)
200-c3-avant (
1
)
200-c3-saloon (
1
)
2008-i (
4
)
200sx-coupe (
1
)
206 (
1
)
206-00- (
4
)
206-cc (
6
)
206-hatchback (
6
)
206-saloon (
5
)
206-sw (
6
)
207 (
20
)
207-06- (
12
)
207-cc (
19
)
207-saloon (
1
)
207-sw (
18
)
208-12- (
2
)
208-i (
8
)
2101 (
3
)
2102 (
3
)
2103 (
3
)
2104 (
3
)
2105 (
3
)
2106 (
3
)
2107 (
3
)
2110 (
5
)
2111 (
6
)
2112 (
6
)
21213 (
1
)
2126 (
3
)
2127 (
3
)
2141 (
5
)
2217 (
6
)
2329-niva (
5
)
241 (
1
)
2410 (
4
)
255 (
2
)
260 (
2
)
2705 (
6
)
2717 (
5
)
2752 (
6
)
3 (
24
)
3-09- (
2
)
3-22- (
1
)
3-compact (
7
)
3-convertible (
9
)
3-coupe (
12
)
3-e36-90- (
2
)
3-e46-98- (
8
)
3-e90-05- (
7
)
3-f3x-11- (
1
)
3-gran-turismo (
4
)
3-saloon (
4
)
3-touring (
16
)
3-touring-van (
1
)
3008-09- (
11
)
3008-mpv (
17
)
3008-suv (
1
)
301 (
4
)
301-12- (
2
)
306 (
2
)
306-97- (
2
)
306-break (
3
)
306-convertible (
1
)
306-hatchback (
2
)
307 (
7
)
307-00- (
5
)
307-break (
7
)
307-cc (
7
)
307-sw (
7
)
308 (
1
)
308-07- (
15
)
308-13- (
1
)
308-cc (
21
)
308-i (
22
)
308-ii (
4
)
308-sw (
1
)
308-sw-i (
20
)
308-sw-ii (
4
)
3151 (
4
)
3151-85- (
4
)
31512-open-off-road-vehicle (
4
)
3160-closed-off-road-vehicle (
3
)
320-smily (
1
)
3204 (
1
)
3205 (
2
)
3206 (
1
)
3221 (
6
)
323 (
1
)
323-c-iv (
1
)
323-c-v (
1
)
323-f-v (
2
)
323-f-vi (
2
)
323-i (
1
)
323-i-station-wagon (
1
)
323-ii (
1
)
323-ii-hatchback (
1
)
323-iii (
1
)
323-iii-hatchback (
1
)
323-iii-station-wagon (
1
)
323-p-v (
1
)
323-s-iv (
1
)
323-s-v (
1
)
323-s-vi (
2
)
3237 (
1
)
3302 (
7
)
3303 (
2
)
3307 (
2
)
350z-02- (
1
)
350z-coupe (
1
)
350z-roadster (
1
)
370z-coupe (
1
)
370z-roadster (
1
)
3741 (
2
)
3909 (
2
)
3962 (
2
)
4 (
1
)
4-convertible (
4
)
4-coupe (
4
)
4-gran-coupe (
5
)
4-runner-ii (
1
)
4-runner-iii (
2
)
4-runner-iv (
1
)
4-series (
3
)
4-series-95- (
3
)
4007 (
2
)
4007-van (
1
)
4008 (
1
)
406 (
1
)
406-96- (
1
)
406-break (
1
)
406-coupe (
1
)
407 (
2
)
407-04- (
2
)
407-coupe (
1
)
407-sw (
2
)
408 (
6
)
408-10- (
4
)
4230 (
2
)
4234 (
2
)
43082-kompas-12 (
1
)
43089-kompas-9 (
1
)
4310 (
1
)
43114 (
4
)
43118 (
4
)
4320 (
3
)
43206 (
3
)
4325 (
3
)
43253 (
3
)
43255 (
3
)
4326 (
1
)
43261 (
1
)
4350-mustang (
1
)
43501 (
1
)
43505 (
1
)
4370 (
1
)
44108 (
3
)
452-platform-chassis (
1
)
452-van (
2
)
4runner-03- (
1
)
5 (
17
)
5-e34-88- (
1
)
5-e39-95- (
4
)
5-e60-03- (
8
)
5-f10-f11-f07-10- (
4
)
5-gran-turismo (
2
)
5-touring (
12
)
5-touring-van (
1
)
500 (
1
)
500-07- (
1
)
500-21- (
1
)
500-595-695 (
1
)
500-c (
1
)
5008 (
12
)
5008-09- (
2
)
5008-ii (
1
)
500l (
1
)
508-11- (
3
)
508-i (
3
)
508-sw-i (
1
)
520-breez (
1
)
520i-breez (
1
)
5256 (
3
)
5293 (
1
)
53 (
2
)
5301 (
1
)
5301-bichok (
4
)
5320 (
5
)
53205 (
5
)
53212 (
4
)
53213 (
3
)
53215 (
4
)
53228 (
1
)
53229 (
1
)
5336 (
1
)
5337 (
2
)
5340 (
1
)
5360 (
3
)
53605 (
3
)
5410 (
4
)
54115 (
1
)
5432 (
5
)
5433 (
2
)
5440 (
1
)
5460 (
4
)
5490 (
1
)
54901 (
3
)
5511 (
4
)
55110 (
3
)
55111 (
4
)
5516 (
2
)
5551 (
2
)
570 (
1
)
6 (
6
)
6-02- (
1
)
6-07- (
1
)
6-13- (
2
)
6-convertible (
7
)
6-coupe (
1
)
6-e63-e64-03- (
2
)
6-estate (
2
)
6-f12-f13-f06-11- (
1
)
6-gran (
1
)
6-gran-coupe (
1
)
6-gran-turismo (
1
)
6-hatchback (
3
)
6-kabriolet (
1
)
6-liftback (
1
)
6-saloon (
4
)
6-sedan (
2
)
6-station-wagon (
3
)
607 (
1
)
616 (
1
)
620 (
1
)
620-ii (
1
)
620-solano (
2
)
626 (
1
)
626-97- (
1
)
626-iii (
2
)
626-iii-coupe (
2
)
626-iii-hatchback (
2
)
626-iii-station-wagon (
2
)
626-iv (
1
)
626-iv-hatchback (
1
)
626-v (
1
)
626-v-hatchback (
1
)
626-v-station-wagon (
1
)
6303 (
1
)
6312 (
1
)
6322 (
2
)
6370 (
1
)
6422 (
2
)
6430 (
1
)
6460 (
1
)
6501 (
1
)
6510 (
4
)
65111 (
4
)
65115 (
4
)
65116 (
3
)
65117 (
3
)
6520 (
4
)
65201 (
4
)
6522 (
4
)
6540 (
4
)
6580-k (
1
)
66 (
2
)
7 (
13
)
7-e38-94- (
4
)
7-e65-e66-01- (
5
)
7-f01-f02-08- (
3
)
75-cf (
1
)
75-cf-95- (
1
)
80 (
4
)
80-78- (
1
)
80-91- (
2
)
80-b1-saloon (
1
)
80-b2-saloon (
2
)
80-b3-saloon (
2
)
80-b4-avant (
2
)
80-b4-saloon (
3
)
806 (
1
)
807 (
1
)
82 (
2
)
8300 (
1
)
85-cf (
1
)
85-cf-95- (
1
)
850 (
2
)
850-91- (
1
)
850-estate (
2
)
9-3 (
1
)
9-3-ii-04- (
1
)
9-5 (
3
)
9-5-estate (
1
)
90-b2 (
1
)
90-b3 (
1
)
922-5 (
1
)
929-iii (
1
)
9300 (
1
)
9400 (
1
)
95-xf (
2
)
95-xf-97- (
2
)
960 (
2
)
960-90- (
1
)
960-ii (
2
)
960-ii-estate (
1
)
960-kombi (
1
)
a-class (
4
)
a-class-w176-12- (
1
)
a-class-w177-18- (
1
)
a1 (
16
)
a1-10- (
10
)
a1-kimo (
1
)
a1-sportback (
9
)
a2 (
3
)
a2-99- (
2
)
a3 (
25
)
a3-03- (
3
)
a3-07- (
6
)
a3-12- (
6
)
a3-convertible (
17
)
a3-limousine (
6
)
a3-sportback (
21
)
a4 (
5
)
a4-15- (
2
)
a4-allroad-b8 (
6
)
a4-b5 (
3
)
a4-b5-94- (
2
)
a4-b5-avant (
3
)
a4-b6 (
4
)
a4-b6-00- (
2
)
a4-b6-avant (
3
)
a4-b7 (
7
)
a4-b7-04- (
5
)
a4-b7-avant (
7
)
a4-b7-convertible (
4
)
a4-b8 (
10
)
a4-b8-07- (
8
)
a4-b8-avant (
8
)
a4-b9 (
6
)
a4-b9-avant (
6
)
a5 (
9
)
a5-07- (
6
)
a5-convertible (
7
)
a5-elara-fora (
1
)
a5-sportback (
9
)
a6-allroad-c6 (
4
)
a6-allroad-c7 (
3
)
a6-c4 (
4
)
a6-c4-94- (
2
)
a6-c4-avant (
4
)
a6-c5 (
3
)
a6-c5-97- (
2
)
a6-c5-avant (
3
)
a6-c6 (
7
)
a6-c6-04- (
7
)
a6-c6-avant (
7
)
a6-c7 (
10
)
a6-c7-11- (
7
)
a6-c7-avant (
8
)
a7-sportback (
6
)
a8-03- (
1
)
a8-10- (
2
)
a8-d2 (
1
)
a8-d3 (
4
)
a8-d4 (
4
)
accent-i (
3
)
accent-i-94- (
1
)
accent-ii (
5
)
accent-ii-99- (
4
)
accent-ii-saloon (
5
)
accent-ii-tagaz-01- (
1
)
accent-iii (
3
)
accent-iii-05- (
1
)
accent-iii-saloon (
3
)
accent-iv (
2
)
accent-iv-saloon (
3
)
accent-saloon (
3
)
accent-v-saloon (
1
)
accord (
2
)
accord-02- (
1
)
accord-08- (
3
)
accord-12- (
1
)
accord-90- (
1
)
accord-97- (
1
)
accord-hatchback (
1
)
accord-i (
1
)
accord-i-hatchback (
1
)
accord-iv (
1
)
accord-iv-aerodeck (
1
)
accord-iv-coupe (
1
)
accord-ix (
1
)
accord-v (
1
)
accord-v-aerodeck (
1
)
accord-v-coupe (
1
)
accord-vi (
1
)
accord-vi-aerodeck (
1
)
accord-vi-coupe (
1
)
accord-vi-hatchback (
1
)
accord-vii (
2
)
accord-vii-tourer (
1
)
accord-viii (
3
)
accord-viii-estate (
2
)
acros-530-pcm-142 (
1
)
actros (
2
)
actros-03- (
2
)
actros-11- (
1
)
actros-96- (
2
)
actros-mp2-mp3 (
2
)
actros-mp4-mp5 (
1
)
actyon-i (
2
)
actyon-ii (
3
)
actyon-ii-10- (
2
)
actyon-sport-05- (
1
)
actyon-sport-ii-12- (
1
)
actyon-sports-i (
2
)
actyon-sports-ii (
3
)
adam (
7
)
agora-96- (
1
)
alhambra (
7
)
alhambra-97- (
1
)
allion-i (
1
)
allroad-c5 (
1
)
almera-classic (
1
)
almera-i (
2
)
almera-i-hatchback (
2
)
almera-ii (
2
)
almera-ii-hatchback (
2
)
almera-n15-95- (
1
)
almera-n16-00- (
1
)
almera-tino (
2
)
alphard-vellfire (
1
)
alsvin (
1
)
alsvin-18- (
1
)
altea (
17
)
altea-04- (
1
)
altea-07- (
2
)
altea-xl (
14
)
alto-i (
1
)
alto-ii-hatchback (
1
)
alto-iii (
1
)
alto-iv (
1
)
alto-v (
1
)
alto-vi (
1
)
amarok (
2
)
amarok-09- (
2
)
amarok-platform-chassis (
1
)
amulet (
3
)
amulet-a15-03- (
2
)
antara-06- (
1
)
antara-a (
4
)
antos (
1
)
antos-12- (
1
)
argo (
1
)
aristo (
1
)
arkana-19- (
2
)
arkana-i (
3
)
arocs (
1
)
arocs-13- (
1
)
arosa (
2
)
arrizo-8 (
1
)
arrizo-8-22- (
1
)
astra-f (
1
)
astra-f-convertible (
1
)
astra-f-estate (
1
)
astra-f-hatchback (
1
)
astra-g-98- (
3
)
astra-g-classic-caravan (
1
)
astra-g-convertible (
6
)
astra-g-coupe (
8
)
astra-g-estate (
13
)
astra-g-hatchback (
13
)
astra-g-saloon (
12
)
astra-h (
12
)
astra-h-classic-estate (
4
)
astra-h-classic-hatchback (
4
)
astra-h-classic-saloon (
4
)
astra-h-estate (
11
)
astra-h-gtc (
12
)
astra-h-saloon (
9
)
astra-h-twintop (
9
)
astra-j (
15
)
astra-j-gtc (
15
)
astra-j-saloon (
15
)
astra-j-sports-tourer (
15
)
astra-sports-tourer (
4
)
asx (
2
)
ateca (
3
)
atego (
2
)
atego-2 (
2
)
atego-i (
2
)
atego-ii (
2
)
atenza (
2
)
atlant (
1
)
atlant-22- (
1
)
atlas (
3
)
atlas-23- (
2
)
atlas-pro (
2
)
atos (
2
)
auman (
1
)
auman-est-a-bj4189-17- (
1
)
aurion (
1
)
auris (
3
)
auris-06- (
2
)
auris-estate (
2
)
auris-ii-12- (
1
)
avante-hd-06- (
1
)
avante-xd-00- (
1
)
avensis (
4
)
avensis-03- (
2
)
avensis-97- (
2
)
avensis-estate (
4
)
avensis-liftback (
4
)
avensis-saloon (
3
)
avensis-verso (
2
)
aveo (
3
)
aveo-hatchback (
19
)
aveo-kalos-hatchback (
11
)
aveo-kalos-saloon (
11
)
aveo-saloon (
19
)
aveo-t255-08- (
4
)
axor (
1
)
axor-04- (
1
)
axor-2 (
1
)
aygo (
1
)
b-class-sports-tourer (
4
)
b-class-w246-13- (
1
)
b-class-w247-18- (
1
)
b-max (
1
)
b-max-van (
1
)
b-serie (
1
)
b-series (
1
)
b9 (
1
)
baleno (
1
)
baleno-95- (
1
)
beetle (
11
)
beetle-10- (
4
)
beetle-convertible (
8
)
berlingo-00- (
3
)
berlingo-berlingo-first-box-body-mpv (
6
)
berlingo-berlingo-first-mpv (
6
)
berlingo-box-body-mpv (
6
)
berlingo-i-96- (
1
)
berlingo-ii (
9
)
berlingo-ii-08- (
7
)
berlingo-multispace (
13
)
binyue-coolray (
3
)
bipper (
1
)
bipper-tepee (
3
)
bluebird-sylphy-ii (
3
)
bongo-platform-chassis (
1
)
bora-i (
9
)
bora-variant (
7
)
borrego (
1
)
boxer-avtobus (
1
)
boxer-bus (
2
)
boxer-furgon (
1
)
boxer-platform-chassis (
2
)
boxer-van (
2
)
boyue (
1
)
boyue-l (
1
)
boyue-pro-atlas-pro (
2
)
bravo-06- (
1
)
bravo-ii (
1
)
breez-07- (
1
)
bt-50-i-06- (
1
)
bt-50-pickup (
1
)
c (
1
)
c-class (
18
)
c-class-coupe (
12
)
c-class-t-model (
17
)
c-class-w202-93- (
4
)
c-class-w203-00- (
3
)
c-class-w204-07- (
9
)
c-class-w205-14- (
6
)
c-crosser (
2
)
c-crosser-07- (
1
)
c-crosser-enterprise (
1
)
c-elysee (
5
)
c-elysee-12- (
3
)
c-hr (
1
)
c-hr-16- (
1
)
c-max (
5
)
c-max-03- (
3
)
c-max-07- (
3
)
c-max-11- (
1
)
c-max-ii (
2
)
c-max-ii-van (
1
)
c-serie (
1
)
c-serie-13- (
1
)
c1 (
1
)
c1-05- (
1
)
c1-14- (
1
)
c1-ii (
1
)
c2 (
7
)
c2-03- (
5
)
c3-02- (
5
)
c3-10- (
2
)
c3-i (
7
)
c3-ii (
6
)
c3-picasso (
9
)
c3-picasso-09- (
7
)
c3-pluriel (
6
)
c30 (
7
)
c30-06- (
5
)
c4 (
13
)
c4-04- (
5
)
c4-10- (
12
)
c4-aircross (
7
)
c4-coupe (
17
)
c4-grand-picasso-i (
16
)
c4-i (
17
)
c4-ii (
16
)
c4-ii-saloon (
13
)
c4-l (
13
)
c4-picasso-06- (
4
)
c4-picasso-i-mpv (
16
)
c5 (
2
)
c5-04- (
3
)
c5-08- (
6
)
c5-22- (
2
)
c5-i (
1
)
c5-i-break (
1
)
c5-ii (
3
)
c5-ii-break (
3
)
c5-iii (
7
)
c5-iii-break (
6
)
c70-06- (
3
)
c70-97- (
2
)
c70-i-convertible (
2
)
c70-i-coupe (
2
)
c70-ii-convertible (
6
)
c7h (
1
)
c8 (
1
)
ca3250 (
1
)
ca3252 (
1
)
ca3312 (
1
)
cabriolet-b3 (
4
)
cabstar (
1
)
caddy-04- (
2
)
caddy-15- (
2
)
caddy-96- (
2
)
caddy-alltrack-box-body-mpv (
3
)
caddy-alltrack-mpv (
3
)
caddy-i (
1
)
caddy-ii-box-body-mpv (
2
)
caddy-ii-mpv (
2
)
caddy-ii-pickup (
2
)
caddy-iii-box-body-mpv (
9
)
caddy-iii-mpv (
9
)
caddy-iv (
2
)
caddy-iv-box-body-mpv (
5
)
caddy-iv-mpv (
5
)
caldina (
1
)
caldina-estate (
2
)
caldina-iii-t240-02- (
1
)
caliber (
1
)
caliber-07- (
1
)
calibra-a (
1
)
camaro (
2
)
camry (
5
)
camry-01- (
1
)
camry-06- (
1
)
camry-11- (
1
)
camry-18- (
3
)
camry-96- (
1
)
camry-estate (
2
)
camry-gracia (
1
)
camry-liftback (
1
)
camry-saloon (
2
)
cappuccino (
1
)
captiva (
4
)
captur-i (
1
)
caravan (
1
)
caravan-van (
1
)
carens-i (
1
)
carens-i-99- (
1
)
carens-ii-06- (
2
)
carens-ii-mpv (
4
)
carens-iii-mpv (
6
)
carens-iv (
2
)
carens-iv-van (
1
)
carina (
1
)
carina-e (
1
)
carina-e-vi (
2
)
carina-e-vi-saloon (
2
)
carina-e-vi-sportswagon (
1
)
carina-ii (
1
)
carina-iv (
1
)
carina-iv-saloon (
1
)
carina-v (
1
)
carina-v-estate (
1
)
carina-v-saloon (
1
)
carisma (
2
)
carisma-95- (
2
)
carisma-saloon (
2
)
carnival-grand-carnival-iii (
1
)
carnival-ii (
1
)
carnival-ii-06- (
1
)
carnival-iii (
1
)
carry-van (
1
)
cascada (
2
)
cayenne (
2
)
cayenne-ii-10- (
1
)
cc-b7 (
7
)
cee-d (
3
)
cee-d-07- (
2
)
cee-d-combi-van (
1
)
cee-d-hatchback (
5
)
cee-d-sportswagon (
3
)
cee-d-sw (
6
)
ceed (
3
)
ceed-18- (
2
)
ceed-combi-van (
1
)
ceed-hatchback-van (
1
)
ceed-sportswagon (
3
)
cefiro-ii-saloon (
1
)
cefiro-iii-saloon (
1
)
celica (
1
)
celica-convertible (
3
)
celica-coupe (
3
)
celica-hatchback (
1
)
cerato (
1
)
cerato-i-04- (
3
)
cerato-i-hatchback (
5
)
cerato-i-saloon (
5
)
cerato-iii-saloon (
2
)
cerato-iv-18- (
2
)
cerato-iv-saloon (
4
)
cerato-koup-iii (
1
)
cf-75 (
2
)
cf-75-01- (
2
)
cf-75-06- (
1
)
cf-85 (
2
)
cf-85-01- (
2
)
cf-85-06- (
1
)
chance-hatchback (
3
)
chance-saloon (
4
)
chaser (
2
)
chaser-vi-x100-96- (
2
)
chery-exeed-lx (
1
)
chery-exeed-txl (
1
)
cirrus (
1
)
city-iv-saloon (
1
)
civic (
3
)
civic-ferio (
1
)
civic-i-shuttle (
1
)
civic-ii-shuttle (
1
)
civic-iv-hatchback (
1
)
civic-iv-saloon (
1
)
civic-ix (
1
)
civic-ix-11- (
1
)
civic-ix-saloon (
1
)
civic-v (
1
)
civic-v-91- (
1
)
civic-v-coupe (
1
)
civic-v-hatchback (
1
)
civic-v-saloon (
1
)
civic-vi (
1
)
civic-vi-95- (
1
)
civic-vi-aerodeck (
1
)
civic-vi-coupe (
1
)
civic-vi-fastback (
1
)
civic-vi-hatchback (
1
)
civic-vi-saloon (
1
)
civic-vii (
2
)
civic-vii-00- (
2
)
civic-vii-coupe (
1
)
civic-vii-hatchback (
2
)
civic-vii-saloon (
1
)
civic-viii (
1
)
civic-viii-06- (
3
)
civic-viii-hatchback (
2
)
civic-viii-saloon (
3
)
civic-x (
1
)
civic-x-hatchback (
1
)
civic-x-saloon (
1
)
cla (
1
)
cla-c117-13- (
1
)
cla-c118-19- (
1
)
cla-coupe (
4
)
cla-shooting-brake (
2
)
clc-class (
2
)
clio-ii (
5
)
clio-ii-hatchback-van (
1
)
clio-iii (
9
)
clio-iii-grandtour (
8
)
clio-iv (
1
)
clio-iv-12- (
1
)
clio-iv-grandtour (
1
)
clk (
6
)
clk-convertible (
5
)
clk-w208-96- (
3
)
cls (
10
)
cls-c219-04- (
1
)
cls-shooting-brake (
3
)
cls-w218-10- (
5
)
clubman-07- (
5
)
cobalt (
2
)
colt (
4
)
colt-04- (
2
)
colt-96- (
1
)
colt-czc-vi-convertible (
1
)
colt-iv (
1
)
colt-plus (
1
)
colt-v (
3
)
colt-vi (
3
)
combo-box-body-mpv (
3
)
combo-tour (
3
)
compass (
1
)
compass-07- (
1
)
concerto (
1
)
concerto-saloon (
1
)
continental (
1
)
coolray-18- (
2
)
cooper-06- (
5
)
cordoba (
7
)
cordoba-00- (
2
)
cordoba-vario (
3
)
corolla (
3
)
corolla-ceres (
1
)
corolla-compact (
3
)
corolla-coupe (
1
)
corolla-e100-91- (
1
)
corolla-e110-95- (
1
)
corolla-e120-01- (
1
)
corolla-e150-06- (
2
)
corolla-estate (
3
)
corolla-fielder (
1
)
corolla-fx-compact (
1
)
corolla-levin (
1
)
corolla-liftback (
3
)
corolla-runx (
1
)
corolla-saloon (
2
)
corolla-spacio (
1
)
corolla-station-wagon (
1
)
corolla-verso (
2
)
corolla-wagon (
1
)
corrado (
2
)
corsa-b (
1
)
corsa-c (
3
)
corsa-c-00- (
3
)
corsa-c-hatchback-van (
1
)
corsa-d (
12
)
corsa-d-06- (
8
)
corsa-d-hatchback-van (
6
)
corsa-e (
7
)
corsa-e-hatchback-van (
5
)
cougar (
2
)
cougar-98- (
2
)
countryman-10- (
1
)
county (
1
)
coupe (
1
)
coupe-b2 (
2
)
coupe-b3 (
2
)
coupe-i (
2
)
coupe-ii (
3
)
coupe-ii-01- (
1
)
cowin-amulet-flagcloud (
3
)
cr-v (
1
)
cr-v-16- (
2
)
cr-v-i (
1
)
cr-v-i-95- (
1
)
cr-v-ii (
2
)
cr-v-ii-02- (
1
)
cr-v-iii (
4
)
cr-v-iii-06- (
2
)
cr-v-iv (
2
)
cr-v-iv-12- (
2
)
cr-v-v (
3
)
cr-z (
1
)
crafter-30-35-bus (
2
)
crafter-30-50-platform-chassis (
2
)
crafter-30-50-van (
2
)
cressida-saloon (
1
)
cresta-iv-saloon (
1
)
cresta-iv-x90 (
1
)
cresta-v-saloon (
2
)
cresta-x100-96- (
2
)
creta (
3
)
croma (
7
)
croma-05- (
4
)
crossfire (
1
)
crossfire-04- (
1
)
crossfire-roadster (
1
)
crown (
1
)
cruze (
20
)
cruze-09- (
7
)
cruze-hatchback (
20
)
cruze-ii (
10
)
cruze-saloon (
10
)
cruze-station-wagon (
15
)
crx-i (
1
)
crx-ii (
1
)
crx-iii (
1
)
crx-iii-92- (
1
)
cs35 (
1
)
cs35-13- (
1
)
cs35-plus (
2
)
cs35-plus-21- (
1
)
cs55-plus (
1
)
cs55-plus-21- (
1
)
ct (
1
)
ct200h-10- (
1
)
cube (
1
)
cube-iii-z12-09- (
1
)
cx-5 (
3
)
cx-5-12- (
2
)
cx-5-17- (
2
)
cx-7 (
3
)
cx-7-07- (
1
)
cx-9 (
2
)
cx-9-i-07- (
1
)
d (
1
)
daily (
3
)
daily-iii-99- (
1
)
daily-iii-platform-chassis (
1
)
daily-iv-06- (
1
)
daily-iv-bus (
2
)
daily-iv-platform-chassis (
3
)
daily-iv-van (
3
)
daily-v-platform-chassis (
1
)
daily-v-van (
1
)
daily-vi-platform-chassis (
1
)
daily-vi-van (
2
)
damas (
1
)
damas-bus (
1
)
damas-van (
2
)
dana (
1
)
dargo (
1
)
dargo-22- (
1
)
dasheng-dashing (
2
)
dashing-22- (
2
)
deer-96- (
1
)
deer-g3 (
1
)
deer-g5 (
1
)
deer-pickup (
1
)
delica-space-gear (
1
)
delong (
2
)
demio (
1
)
discovery-iii (
2
)
discovery-iii-04- (
2
)
discovery-iii-van (
2
)
discovery-iv (
2
)
discovery-iv-09- (
2
)
doblo-box-body-mpv (
1
)
doblo-bus (
1
)
doblo-cargo (
1
)
doblo-i-01- (
1
)
doblo-mpv (
1
)
doblo-platform-chassis (
1
)
dokker (
1
)
dokker-express-box-body-mpv (
1
)
dokker-mpv (
2
)
ds3 (
17
)
ds3-10- (
10
)
ds3-convertible (
2
)
ds4 (
6
)
ds4-11- (
4
)
ds5 (
6
)
ducato-bus (
4
)
ducato-platform-chassis (
4
)
ducato-sollers-rus-08- (
1
)
ducato-van (
4
)
duster (
7
)
duster-ii (
3
)
duster-ii-21- (
1
)
duster-suv-van (
1
)
dyna-vii (
1
)
e-class (
19
)
e-class-all-terrain (
1
)
e-class-convertible (
4
)
e-class-coupe (
6
)
e-class-platform-chassis (
1
)
e-class-t-model (
17
)
e-class-w124-84- (
2
)
e-class-w210-95- (
4
)
e-class-w211-02- (
4
)
e-class-w212-09- (
9
)
e-class-w213-16- (
7
)
e2000 (
1
)
e5 (
1
)
e5-21- (
1
)
eado-plus (
1
)
eado-plus-20- (
1
)
ec7 (
1
)
eclipse-cross (
1
)
eclipse-ii (
1
)
eclipse-iv (
1
)
ecosport (
3
)
ecosport-13- (
1
)
elantra (
5
)
elantra-iii (
3
)
elantra-iii-00- (
2
)
elantra-iii-saloon (
3
)
elantra-iv-06- (
2
)
elantra-iv-saloon (
3
)
elantra-v-saloon (
3
)
elantra-vi-saloon (
2
)
elara (
1
)
emgrand (
1
)
emgrand-7 (
1
)
emgrand-7-ii-21- (
1
)
emgrand-saloon-ec7 (
1
)
emgrand-x7 (
1
)
emgrand-x7-new (
1
)
eos (
19
)
eos-06- (
7
)
epica (
2
)
equus-centennial (
1
)
es (
3
)
es-12- (
1
)
escalade (
3
)
escape (
2
)
escape-i (
2
)
escape-i-00- (
2
)
escort-95- (
1
)
escort-classic (
1
)
escort-classic-turnier (
1
)
escort-v (
1
)
escort-v-convertible (
1
)
escort-v-express (
1
)
escort-v-saloon (
1
)
escort-v-turnier (
1
)
escort-vi (
1
)
escort-vi-convertible (
1
)
escort-vi-estate-van (
1
)
escort-vi-saloon (
1
)
escort-vi-turnier (
1
)
espace-iii (
2
)
espace-iv (
6
)
espace-iv-02- (
1
)
espero-94- (
1
)
eurocargo (
1
)
eurocargo-00- (
1
)
eurocargo-i-iii (
1
)
eurostar (
2
)
eurostar-93- (
1
)
eurotech-98- (
2
)
eurotech-mh (
1
)
eurotech-mp (
2
)
eurotech-mt (
1
)
eurotrakker (
3
)
eurotrakker-99- (
2
)
evanda (
1
)
evasion-mpv (
1
)
ex (
1
)
ex-07- (
1
)
exeo (
2
)
exeo-06- (
1
)
exeo-st (
2
)
expert (
2
)
expert-96- (
1
)
expert-tepee (
1
)
expert-van (
3
)
explorer (
1
)
explorer-v-10- (
1
)
f-2000 (
1
)
f-90 (
1
)
f-pace (
1
)
f-pace-16- (
1
)
f10 (
2
)
f10-90- (
2
)
f16-88- (
1
)
f2000 (
1
)
f2000-04- (
1
)
f2000-94- (
1
)
f3-05- (
1
)
f3-saloon (
1
)
f3000 (
2
)
f3000-12- (
2
)
f3r-07- (
1
)
f3r-hatchback (
1
)
f7 (
3
)
f7-19- (
3
)
f7x (
3
)
f7x-19- (
3
)
f90 (
1
)
fabia (
3
)
fabia-i (
6
)
fabia-i-99- (
2
)
fabia-i-combi (
6
)
fabia-i-praktik (
4
)
fabia-i-saloon (
6
)
fabia-ii (
15
)
fabia-ii-07- (
4
)
fabia-ii-combi (
14
)
fabia-iii (
2
)
fabia-iii-14- (
2
)
fabia-iii-estate (
4
)
fabia-iii-universal (
2
)
fe (
1
)
fe-06- (
1
)
fe-ii (
1
)
felicia-i (
2
)
felicia-i-estate (
2
)
felicia-i-pickup (
2
)
felicia-ii (
2
)
felicia-ii-estate (
2
)
fh (
2
)
fh-05- (
1
)
fh-ii (
1
)
fh-ii-12- (
1
)
fh12 (
2
)
fh12-02- (
1
)
fh12-05- (
1
)
fh12-93- (
2
)
fh16 (
1
)
fh16-93- (
1
)
fiesta-01- (
1
)
fiesta-box-body-mpv (
2
)
fiesta-hatchback-van (
1
)
fiesta-iii (
1
)
fiesta-iv (
2
)
fiesta-saloon (
1
)
fiesta-v (
3
)
fiesta-vi (
2
)
fiesta-vi-08- (
1
)
fiesta-vi-van (
1
)
fiorino-box-body-mpv (
2
)
fit (
2
)
fit-01- (
1
)
fit-aria (
1
)
fit-shuttle (
1
)
fj-cruiser (
1
)
fj-cruiser-07- (
1
)
fl-10-95- (
1
)
fl-ii (
1
)
fl-iii (
1
)
fl10 (
1
)
flavia-convertible (
1
)
fluence (
8
)
fluence-10- (
7
)
fm (
2
)
fm-05- (
2
)
fm-9-01- (
1
)
fm-ii (
2
)
fm12 (
1
)
fm12-98- (
1
)
fm9 (
1
)
fmx (
1
)
fmx-10- (
1
)
fmx-ii (
1
)
focus-c-max (
6
)
focus-c-max-03- (
2
)
focus-i (
2
)
focus-i-98- (
2
)
focus-i-saloon (
2
)
focus-i-turnier (
2
)
focus-ii (
9
)
focus-ii-05- (
7
)
focus-ii-convertible (
3
)
focus-ii-saloon (
6
)
focus-ii-st-05- (
1
)
focus-ii-turnier (
6
)
focus-iii (
7
)
focus-iii-11- (
1
)
focus-iii-saloon (
6
)
focus-iii-turnier (
7
)
fora (
1
)
fora-a21-06- (
1
)
forester (
2
)
forester-sf-97- (
1
)
forester-sg-02- (
1
)
forester-sh-08- (
1
)
forester-sj-12- (
1
)
forfour (
1
)
fortuner (
4
)
fortuner-04- (
2
)
fortuner-15- (
1
)
fox-hatchback (
4
)
fr-v (
1
)
freelander-2 (
2
)
freemont (
1
)
freemont-11- (
1
)
funcargo (
1
)
funcargo-99- (
1
)
fusion (
1
)
fusion-02- (
1
)
fx (
4
)
fx-02- (
3
)
fx-ii-08- (
1
)
g-class (
5
)
g-class-cabrio (
5
)
g-convertible (
1
)
g-coupe (
2
)
g-saloon (
2
)
g-serie-04- (
5
)
g-serie-16- (
3
)
g-v35-02- (
1
)
g-w463-90- (
4
)
g37-06- (
1
)
g80 (
2
)
gaia (
1
)
gaia-98- (
1
)
galant (
2
)
galant-ix-saloon (
1
)
galant-v-92- (
1
)
galant-vi (
1
)
galant-vi-96- (
1
)
galant-vi-saloon (
1
)
galant-vii (
2
)
galant-vii-saloon (
2
)
galant-viii (
1
)
galant-viii-estate (
1
)
galaxy (
2
)
galaxy-i (
1
)
galaxy-i-95- (
1
)
galaxy-ii (
9
)
galaxy-ii-06- (
2
)
galaxy-iii (
2
)
galloper-98- (
2
)
galloper-i (
2
)
galloper-ii (
2
)
gazelle (
3
)
gazelle-bus (
12
)
gazelle-next (
1
)
gazelle-next-13- (
1
)
gazelle-next-bus (
1
)
gazelle-next-platform-chassis (
1
)
gazelle-next-van (
1
)
gazelle-nn (
1
)
gazelle-platform-chassis (
12
)
gazelle-van (
12
)
gazon-next (
1
)
gazon-next-14- (
1
)
gazon-next-18-10t- (
1
)
genesis (
1
)
genesis-coupe (
1
)
genesis-i-08- (
1
)
gentra (
1
)
gentra-05- (
1
)
gentra-saloon (
2
)
getz (
5
)
gl-class (
3
)
gl-class-i-x164-06- (
1
)
gla (
1
)
gla-class (
3
)
gla-h247-20- (
1
)
gla-x156-13- (
1
)
glb (
1
)
glb-class (
1
)
glb-x247-19- (
1
)
glc (
8
)
glc-15- (
8
)
glc-coupe (
8
)
gle (
3
)
gle-coupe (
2
)
glk-class (
8
)
glk-x204-08- (
7
)
gls (
2
)
gls-x166-15- (
2
)
golf-alltrack-vii-variant (
1
)
golf-i (
2
)
golf-i-74- (
1
)
golf-i-cabriolet (
1
)
golf-ii (
1
)
golf-ii-83- (
1
)
golf-iii (
2
)
golf-iii-91- (
2
)
golf-iii-cabriolet (
1
)
golf-iii-variant (
3
)
golf-iv (
9
)
golf-iv-cabriolet (
1
)
golf-iv-variant (
9
)
golf-mk7 (
3
)
golf-plus-05- (
5
)
golf-plus-09- (
1
)
golf-plus-v (
16
)
golf-sportsvan-vii (
3
)
golf-v (
17
)
golf-v-variant (
13
)
golf-vi (
16
)
golf-vi-08- (
10
)
golf-vi-convertible (
16
)
golf-vi-variant (
15
)
golf-vii (
6
)
golf-vii-12- (
2
)
golf-vii-variant (
7
)
granada (
1
)
grand-c-max (
2
)
grand-c-max-van (
1
)
grand-cherokee-99- (
1
)
grand-cherokee-ii (
1
)
grand-cherokee-iv (
3
)
grand-cherokee-wk2-10- (
3
)
grand-hiace (
1
)
grand-santa-f (
1
)
grand-santa-fe (
1
)
grand-sc-nic-ii (
9
)
grand-sc-nic-iii (
6
)
grand-starex (
2
)
grand-vitara-05- (
2
)
grand-vitara-98- (
3
)
grand-vitara-i (
3
)
grand-vitara-i-open-off-road-vehicle (
1
)
grand-vitara-ii (
3
)
grande-punto (
1
)
grandeur (
3
)
grandeur-05- (
2
)
grandis (
1
)
grandis-03- (
1
)
granta (
15
)
granta-estate (
15
)
granta-hatchback (
15
)
granta-liftback (
15
)
gs (
6
)
gs-05- (
1
)
gs-97- (
1
)
gs8 (
1
)
gv70 (
2
)
gv80 (
2
)
gx (
2
)
gx-j120-02- (
1
)
gx-j150-09- (
1
)
h-1-cargo (
1
)
h-1-platform-chassis (
1
)
h-1-starex-bus (
4
)
h-1-travel (
1
)
h-1-van (
2
)
h-100 (
1
)
h-100-93- (
1
)
h100-bus (
1
)
h100-platform-chassis (
2
)
h100-van (
1
)
h2-02- (
1
)
h3-24- (
1
)
h6 (
1
)
h9 (
1
)
h9-15- (
1
)
haoyue-l (
1
)
haval-h3 (
1
)
hd-45-65-72-78-04- (
1
)
hd-light (
2
)
hiace (
2
)
hiace-commuter-v-bus (
2
)
hiace-h100-89- (
1
)
hiace-h200-04- (
2
)
hiace-iii-bus (
1
)
hiace-iii-van (
1
)
hiace-iv-bus (
1
)
hiace-iv-van (
1
)
hiace-v-furgon (
1
)
hiace-v-van (
2
)
hiace-van (
1
)
highlander (
3
)
highlander-08- (
1
)
highlander-13- (
1
)
highlander-kluger (
1
)
highway-van (
1
)
hilux (
2
)
hilux-05- (
3
)
hilux-97- (
1
)
hilux-iii-suv (
1
)
hilux-iv (
1
)
hilux-iv-pickup (
1
)
hilux-surf (
3
)
hilux-v-pickup (
1
)
hilux-vi-pickup (
1
)
hilux-vii-pickup (
1
)
hilux-viii-pickup (
1
)
hocl (
2
)
hover (
1
)
hover-05- (
1
)
hover-h3 (
1
)
hover-h3-haval-h3 (
1
)
hover-h5 (
1
)
hover-h5-11- (
1
)
hover-h5-haval-5 (
2
)
hover-h6-haval-6 (
1
)
howo (
1
)
hr-v (
1
)
hr-v-i-98- (
1
)
hummer-h2 (
1
)
hunter (
4
)
hunter-plus (
2
)
hunter-plus-23- (
1
)
i10-07- (
2
)
i10-i (
3
)
i20-08- (
1
)
i20-active (
1
)
i20-i (
3
)
i20-ii (
1
)
i20-ii-coupe (
1
)
i30 (
6
)
i30-coupe (
1
)
i30-estate (
6
)
i30-fastback (
1
)
i30-i-07- (
2
)
i30-ii-11- (
1
)
i30-kombi-van (
1
)
i40-11- (
2
)
i40-i (
4
)
i40-i-cw (
4
)
ibiza-00- (
1
)
ibiza-08- (
4
)
ibiza-93- (
2
)
ibiza-ii (
4
)
ibiza-iii (
6
)
ibiza-iv (
10
)
ibiza-iv-sc (
9
)
ibiza-iv-st (
7
)
idea (
1
)
ignis-03- (
1
)
ignis-i (
1
)
ignis-ii (
1
)
iltis (
1
)
impreza (
2
)
impreza-coupe (
1
)
impreza-estate (
2
)
impreza-g10-92- (
1
)
impreza-g11-00- (
1
)
impreza-g12-08- (
1
)
impreza-hatchback (
2
)
impreza-khetchbek (
1
)
impreza-saloon (
2
)
inca (
2
)
indis-s18d-10- (
1
)
insight (
1
)
insignia-a (
17
)
insignia-a-saloon (
16
)
insignia-a-sports-tourer (
17
)
integra-coupe (
1
)
is-c (
1
)
is-i (
2
)
is-i-99- (
2
)
is-ii (
2
)
is-iii (
3
)
is-sportcross (
1
)
ix20 (
3
)
ix35 (
8
)
ix35-van (
1
)
ix55 (
2
)
ix55-09- (
1
)
j6 (
1
)
j7 (
1
)
j7-20- (
1
)
j7-23- (
1
)
j8-24- (
1
)
jazz-01- (
1
)
jazz-ii (
1
)
jazz-iii (
1
)
jetta-05- (
8
)
jetta-11- (
17
)
jetta-84- (
1
)
jetta-i (
1
)
jetta-ii (
1
)
jetta-iii (
17
)
jetta-iv (
21
)
jetta-vii-saloon (
1
)
jimny (
1
)
jimny-closed-off-road-vehicle (
2
)
jimny-ii-98- (
1
)
jimny-wide (
1
)
jolion-21- (
2
)
jolion-suv (
2
)
jorney-09- (
1
)
journey (
1
)
js4 (
1
)
js4-20- (
1
)
juke (
3
)
jumper-furgon (
1
)
jumper-ii-bus (
2
)
jumper-ii-platform-chassis (
2
)
jumper-ii-van (
2
)
jumpy-07- (
1
)
jumpy-95- (
1
)
jumpy-i (
1
)
jumpy-i-van (
1
)
jumpy-ii (
3
)
jumpy-ii-van (
1
)
jumpy-iii-van (
1
)
justy-ii (
1
)
k (
1
)
k-serie-13- (
1
)
k-series (
1
)
k2500-platform-chassis (
1
)
k5-iii-20- (
1
)
kalina (
9
)
kalina-04- (
6
)
kalina-estate (
9
)
kalina-hatchback (
9
)
kalina-ii-estate (
15
)
kalina-ii-hatchback (
15
)
kalina-ii-khetchbek (
15
)
kalina-saloon (
9
)
kalinka-estate-van (
5
)
kalos (
6
)
kalos-saloon (
4
)
kangoo (
6
)
kangoo-97- (
3
)
kangoo-be-bop (
2
)
kangoo-express (
7
)
kangoo-grand-kangoo-ii (
5
)
kaptur (
5
)
kaptur-16- (
3
)
karoq (
4
)
kerax (
3
)
kerax-01- (
2
)
kimo-a1-07- (
1
)
kluger (
1
)
kodiaq (
8
)
kodiaq-16- (
4
)
koleos-08- (
3
)
koleos-i (
5
)
kompass-12 (
1
)
kompass-5 (
1
)
kompass-9 (
1
)
korando (
5
)
korando-95- (
2
)
korando-c-10- (
2
)
korando-cabrio (
2
)
kubistar-van (
1
)
kuga (
4
)
kuga-08- (
3
)
kuga-13- (
5
)
kuga-i (
4
)
kuga-ii (
6
)
kyron (
2
)
kyron-05- (
1
)
l-2000 (
1
)
l-300-iii-bus (
1
)
l-300-iii-platform-chassis (
1
)
l-p-g-r-s-series (
3
)
l200 (
1
)
l200-06- (
1
)
l200-triton (
1
)
l2000 (
1
)
l2000-01- (
1
)
l400-bus (
1
)
l400-van (
1
)
lacetti (
4
)
lacetti-estate (
4
)
lacetti-hatchback (
6
)
lacetti-saloon (
4
)
laguna-coupe (
1
)
laguna-i (
4
)
laguna-i-94- (
3
)
laguna-i-grandtour (
4
)
laguna-ii (
5
)
laguna-ii-grandtour (
5
)
laguna-iii (
9
)
laguna-iii-07- (
2
)
laguna-iii-grandtour (
9
)
lamore (
1
)
lamore-22- (
1
)
lancer (
3
)
lancer-iv-hatchback (
1
)
lancer-v (
1
)
lancer-v-station-wagon (
1
)
lancer-vi (
2
)
lancer-vii (
3
)
lancer-vii-estate (
2
)
lancer-viii (
3
)
lancer-viii-sportback (
2
)
land-cruiser (
7
)
land-cruiser-100 (
2
)
land-cruiser-100-98- (
1
)
land-cruiser-200 (
3
)
land-cruiser-200-07- (
3
)
land-cruiser-300 (
1
)
land-cruiser-70-84- (
2
)
land-cruiser-80 (
3
)
land-cruiser-80-89- (
1
)
land-cruiser-90 (
2
)
land-cruiser-cygnus (
1
)
land-cruiser-prado (
4
)
land-cruiser-prado-120-02- (
3
)
land-cruiser-prado-150-09- (
4
)
land-cruiser-prado-90-96- (
2
)
lanos (
5
)
lanos-05- (
2
)
lanos-hatchback (
3
)
lanos-saloon (
5
)
lantra-i (
1
)
lantra-ii (
2
)
lantra-ii-estate (
2
)
largus (
14
)
largus-estate-van (
3
)
largus-van (
3
)
latitude (
1
)
legacy (
2
)
legacy-b10-89- (
1
)
legacy-b11-94- (
1
)
legacy-b12-98- (
1
)
legacy-b13-03- (
1
)
legacy-b4 (
1
)
legacy-i (
1
)
legacy-i-estate (
1
)
legacy-ii (
1
)
legacy-ii-estate (
1
)
legacy-iii (
1
)
legacy-iii-estate (
1
)
legacy-iv (
2
)
legacy-iv-estate (
2
)
legacy-lancaster (
1
)
legacy-outback (
1
)
legacy-v (
1
)
legacy-v-estate (
1
)
legacy-vi (
1
)
leganza (
4
)
legend-iv (
1
)
leon (
24
)
leon-05- (
6
)
leon-12- (
3
)
leon-sc (
6
)
leon-st (
6
)
liana (
1
)
liana-hatchback (
1
)
liberty (
1
)
liberty-07- (
1
)
linea (
1
)
lion-s-city (
2
)
liteace-bus (
1
)
liteace-van (
1
)
liteace-wagon (
1
)
load-up (
1
)
lodgy (
2
)
logan (
4
)
logan-express (
1
)
logan-i (
4
)
logan-i-estate (
2
)
logan-ii (
2
)
logan-ii-estate (
1
)
logan-mcv (
4
)
logan-mcv-ii (
1
)
logan-pickup (
1
)
logan-stepway-ii (
2
)
logo (
1
)
logo-96- (
1
)
ls (
3
)
ls-460-06- (
1
)
lt-28-35-i-bus (
2
)
lt-28-35-i-platform-chassis (
2
)
lt-28-35-i-van (
2
)
lt-28-35-ii-bus (
2
)
lt-28-46-ii-platform-chassis (
2
)
lt-28-46-ii-van (
2
)
lt-40-55-i-platform-chassis (
1
)
lt-40-55-i-van (
2
)
lt-96- (
2
)
lupo-98- (
2
)
lupo-i (
3
)
lx (
3
)
lx-19- (
1
)
lx-570-07- (
2
)
m (
2
)
m-10- (
1
)
m-2000-l (
1
)
m-2000-m (
1
)
m-2141 (
5
)
m-class (
9
)
m-class-i-w163-97- (
2
)
m-class-ii-w164-05- (
4
)
m-class-iii-w166-11- (
2
)
m2000-96- (
1
)
m37 (
1
)
m45 (
2
)
m6 (
1
)
m6-21- (
1
)
m6-plus (
1
)
magentis-i (
2
)
magentis-i-01- (
2
)
magentis-ii (
3
)
magentis-ii-05- (
1
)
malibu (
2
)
mark-ii (
1
)
mark-ii-estate (
1
)
mark-ii-ix-saloon (
3
)
mark-ii-vi-saloon (
1
)
mark-ii-viii-saloon (
2
)
mark-ii-x100-96- (
2
)
mark-ii-x110-00- (
2
)
mark-ii-x90-92- (
1
)
mark-x-i (
1
)
mark-x-ii (
1
)
master-iii-van (
1
)
matiz (
1
)
matrix (
3
)
matrix-01- (
2
)
maverick (
2
)
maverick-ii-00- (
2
)
maxima-a33-99- (
2
)
maxima-maxima-qx-iv (
1
)
maxima-maxima-qx-iv-station-wagon (
1
)
maxima-maxima-qx-v (
2
)
maxter-92- (
1
)
maz-365022 (
1
)
megane-cc (
4
)
megane-i (
3
)
megane-i-95- (
2
)
megane-i-cabriolet (
1
)
megane-i-classic (
3
)
megane-i-coach (
3
)
megane-i-grandtour (
3
)
megane-ii (
9
)
megane-ii-02- (
1
)
megane-ii-coup-cabriolet (
7
)
megane-ii-estate (
9
)
megane-ii-saloon (
8
)
megane-iii-coupe (
7
)
megane-iii-grandtour (
7
)
megane-iii-hatchback (
7
)
megane-scenic (
3
)
meriva-a-03- (
8
)
meriva-a-mpv (
11
)
meriva-b-10- (
6
)
meriva-b-mpv (
10
)
mi-do (
15
)
mi-do-15- (
8
)
micra-iii (
4
)
micra-k12-02- (
2
)
midlum (
1
)
mighty-ii (
1
)
mii (
1
)
mini (
6
)
mini-clubman (
6
)
mini-clubvan (
1
)
mini-convertible (
6
)
mini-countryman (
5
)
mini-coupe (
1
)
mini-paceman (
1
)
mini-roadster (
1
)
mirage-iv-hatchback (
1
)
mirage-space-star-vi-hatchback (
1
)
mito (
1
)
mk-08- (
1
)
mk-hatchback (
1
)
mk-saloon (
1
)
model-f (
1
)
modus-grand-modus (
5
)
mokka-13- (
5
)
mokka-mokka-x (
10
)
mondeo-i (
2
)
mondeo-i-93- (
2
)
mondeo-i-saloon (
2
)
mondeo-i-turnier (
2
)
mondeo-ii (
2
)
mondeo-ii-96- (
2
)
mondeo-ii-saloon (
2
)
mondeo-ii-turnier (
2
)
mondeo-iii (
6
)
mondeo-iii-saloon (
6
)
mondeo-iii-turnier (
6
)
mondeo-iv (
12
)
mondeo-iv-07- (
1
)
mondeo-iv-saloon (
13
)
mondeo-iv-turnier (
13
)
mondeo-v-15- (
1
)
mondeo-v-hatchback (
2
)
mondeo-v-saloon (
5
)
mondeo-v-turnier (
2
)
monjaro (
1
)
monjaro-21- (
1
)
montero-sport (
1
)
moscvich-3 (
1
)
movano-b-platform-chassis (
1
)
mpv-99- (
2
)
mpv-ii (
3
)
mr2-i (
1
)
mr2-ii (
1
)
mr2-iii (
1
)
multivan-03- (
2
)
multivan-t5 (
6
)
multivan-t6 (
3
)
multivan-t6-15- (
2
)
murano (
1
)
murano-i (
1
)
murano-i-02- (
1
)
murano-ii (
2
)
murano-ii-08- (
1
)
murano-iii (
2
)
musa (
1
)
musso (
3
)
musso-93- (
3
)
musso-sports (
1
)
mx-3 (
1
)
mx-5-i (
1
)
mx-5-ii (
1
)
mx-5-iii (
2
)
n-series (
1
)
n120 (
1
)
n75 (
1
)
n90 (
1
)
nadeschda (
5
)
nadia (
1
)
nadia-98- (
1
)
navara (
1
)
navara-05- (
1
)
navara-np300 (
1
)
navara-np300-platform-chassis (
1
)
nemo-box-body-mpv (
3
)
nemo-mpv (
3
)
new-beetle (
3
)
new-beetle-convertible (
3
)
nexia (
2
)
nexia-cielo (
2
)
nexia-saloon (
2
)
nexia-saloon-cielo (
3
)
ng (
3
)
niva (
4
)
niva-2129 (
5
)
niva-closed-off-road-vehicle (
6
)
niva-ii (
1
)
niva-ii-closed-off-road-vehicle (
3
)
niva-travel-closed-off-road-vehicle (
3
)
nl (
3
)
nm (
1
)
note (
4
)
note-06- (
1
)
nova (
5
)
nova-estate (
5
)
np300-pickup (
1
)
nt400-cabstar (
1
)
nubira (
6
)
nubira-05- (
2
)
nubira-estate (
7
)
nubira-saloon (
6
)
nubira-wagon (
6
)
nv400-bus (
1
)
nv400-platform-chassis (
1
)
nv400-van (
1
)
nx (
2
)
octavia (
1
)
octavia-a5-04- (
9
)
octavia-a7-13- (
2
)
octavia-a8-20- (
2
)
octavia-i (
7
)
octavia-i-combi (
7
)
octavia-ii (
18
)
octavia-ii-combi (
18
)
octavia-iii (
6
)
octavia-iii-combi (
6
)
octavia-iv (
2
)
odyssey (
1
)
odyssey-mpv (
1
)
oka (
4
)
okavango (
1
)
okavango-20- (
2
)
omega-a (
1
)
omega-a-86- (
1
)
omega-a-estate (
1
)
omega-b (
1
)
omega-b-94- (
1
)
omega-b-estate (
1
)
on-do (
15
)
on-do-14- (
8
)
one-09- (
4
)
onix-sedan (
1
)
opirus (
2
)
opirus-03- (
1
)
optima (
3
)
optima-11- (
1
)
optima-15- (
2
)
optima-iii (
1
)
optima-sportswagon (
2
)
orbita (
5
)
orion-iii (
1
)
orlando (
10
)
outback (
3
)
outback-b12-98- (
1
)
outback-b13-03- (
1
)
outback-b14-09- (
1
)
outback-ii (
1
)
outlander-i (
1
)
outlander-ii (
2
)
outlander-ii-06- (
2
)
outlander-iii (
1
)
p-g-r-t-series (
5
)
p-serie-04- (
4
)
p-serie-16- (
3
)
paceman-12- (
1
)
pajero (
1
)
pajero-classic (
1
)
pajero-i (
1
)
pajero-ii (
4
)
pajero-ii-90- (
1
)
pajero-ii-canvas-top (
3
)
pajero-iii (
2
)
pajero-iii-canvas-top (
2
)
pajero-iv (
2
)
pajero-iv-06- (
2
)
pajero-iv-van (
1
)
pajero-pinin-i (
1
)
pajero-sport (
1
)
pajero-sport-08- (
1
)
pajero-sport-15- (
1
)
pajero-sport-i (
3
)
pajero-sport-ii (
1
)
pajero-sport-k90-98- (
1
)
panda (
1
)
panda-hatchback-van (
1
)
panda-van (
1
)
partner-96- (
2
)
partner-box-body-mpv (
11
)
partner-mpv (
2
)
partner-tepee (
12
)
paseo-convertible (
1
)
paseo-coupe (
1
)
passat (
1
)
passat-alltrack-b7 (
2
)
passat-alltrack-b8-variant (
6
)
passat-b1 (
1
)
passat-b1-variant (
1
)
passat-b2 (
2
)
passat-b2-73- (
1
)
passat-b2-saloon (
2
)
passat-b2-variant (
2
)
passat-b3-88- (
1
)
passat-b3-b4 (
1
)
passat-b3-b4-variant (
1
)
passat-b4-93- (
1
)
passat-b5 (
4
)
passat-b5-5 (
4
)
passat-b5-5-variant (
7
)
passat-b5-96- (
3
)
passat-b5-variant (
4
)
passat-b6 (
17
)
passat-b6-05- (
3
)
passat-b6-variant (
17
)
passat-b7 (
14
)
passat-b7-variant (
13
)
passat-b8 (
6
)
passat-b8-15- (
2
)
passat-b8-variant (
6
)
passat-cc-08- (
5
)
passat-cc-b6 (
7
)
pathfinder-ii (
1
)
pathfinder-iii (
2
)
pathfinder-iv (
1
)
pathfinder-r51-05- (
1
)
patriot (
4
)
patriot-07- (
1
)
patrol-gr-v-wagon (
1
)
patrol-vi (
1
)
patrol-y61-97- (
1
)
patrol-y62-10- (
1
)
phaeton (
3
)
phedra (
1
)
picanto-04- (
1
)
picanto-i (
2
)
picanto-ii (
2
)
picanto-iii (
2
)
pick-up (
1
)
picnic (
2
)
pilot (
1
)
pilot-08- (
1
)
polo (
10
)
polo-iii (
6
)
polo-iii-94- (
5
)
polo-iii-classic (
7
)
polo-iv-01- (
1
)
polo-iv-saloon (
2
)
polo-rus-20- (
2
)
polo-sedan-rus-10- (
6
)
polo-v (
15
)
polo-v-09- (
3
)
polo-v-saloon (
10
)
polo-variant (
4
)
polo-vivo-khetchbek (
6
)
pony (
1
)
pony-excel-saloon (
1
)
pony-saloon (
1
)
porte-i (
1
)
porter (
1
)
porter-h-100-tagaz-96- (
1
)
porter-platform-chassis (
2
)
porter-van (
2
)
prado (
1
)
preface (
1
)
preface-20- (
1
)
pregio-bus (
1
)
pregio-van (
1
)
prelude-ii (
1
)
prelude-iv (
1
)
prelude-v (
1
)
premio (
1
)
premium (
2
)
premium-00- (
2
)
premium-2 (
2
)
premium-i (
2
)
premium-ii (
1
)
premium-ii-05- (
2
)
previa-ii (
2
)
previa-iii (
1
)
pride (
1
)
pride-87- (
1
)
primera (
5
)
primera-estate (
4
)
primera-hatchback (
5
)
primera-p10-90- (
2
)
primera-p11-96- (
1
)
primera-traveller (
3
)
priora (
7
)
priora-estate (
8
)
priora-hatchback (
8
)
priora-saloon (
8
)
prius (
2
)
prius-ii-03- (
1
)
prius-iii-09- (
1
)
prius-iv-15- (
1
)
prius-liftback (
1
)
prius-phv (
1
)
prius-plus (
1
)
pro-cee-d (
6
)
probox-succeed (
1
)
proceed (
3
)
proceed-18- (
1
)
proceed-combi-van (
3
)
progres (
1
)
pt-cruiser (
1
)
puma (
1
)
puma-97- (
1
)
punto (
1
)
punto-evo (
1
)
punto-iii-05- (
1
)
q2 (
2
)
q3 (
7
)
q5 (
9
)
q5-08- (
2
)
q7 (
10
)
q7-06- (
6
)
q70 (
1
)
qashqai (
3
)
qashqai-2-jj10-08- (
3
)
qashqai-ii (
3
)
qashqai-ii-j11-13- (
3
)
qashqai-ii-suv (
4
)
qashqai-j10-06- (
1
)
qashqai-qashqai-2-i (
5
)
qq6-jaggi (
1
)
qq6-s21-06- (
1
)
quattro (
1
)
qubo (
2
)
qx50-i (
1
)
qx56 (
2
)
qx60 (
1
)
qx70 (
2
)
qx80 (
1
)
qx80-13- (
1
)
r-class (
6
)
r-class-w251-06- (
4
)
r-serie-04- (
5
)
r-serie-16- (
3
)
r2 (
1
)
r4 (
2
)
range-rover-evoque (
1
)
range-rover-iii (
2
)
range-rover-iii-02- (
2
)
range-rover-iv (
2
)
range-rover-iv-12- (
2
)
range-rover-sport-i (
4
)
range-rover-sport-i-05- (
3
)
range-rover-sport-ii (
1
)
range-rover-sport-ii-13- (
1
)
ranger (
5
)
ranger-06- (
3
)
ranger-98- (
1
)
ranger-crew-cab (
1
)
ranger-standard-cab (
1
)
rapid (
15
)
rapid-12- (
6
)
rapid-spaceback (
13
)
rav-4-00- (
1
)
rav-4-13- (
1
)
rav-4-18- (
1
)
rav-4-i (
1
)
rav-4-i-cabrio (
1
)
rav-4-ii (
4
)
rav-4-iii (
1
)
rav-4-iv (
1
)
rav-4-v (
2
)
rav4 (
1
)
rcz (
12
)
rcz-10- (
7
)
rexton (
1
)
rexton-02- (
1
)
rexton-06- (
1
)
rexton-12- (
1
)
rexton-rexton-ii (
2
)
rexton-w-rexton (
3
)
rezzo (
3
)
rezzo-mpv (
3
)
rio (
1
)
rio-i-00- (
1
)
rio-i-hatchback (
1
)
rio-i-saloon (
2
)
rio-ii (
3
)
rio-ii-05- (
2
)
rio-ii-saloon (
3
)
rio-iii (
3
)
rio-iii-saloon (
2
)
rio-iv (
3
)
rio-iv-saloon (
3
)
rodius-i (
1
)
roomster (
13
)
roomster-06- (
1
)
roomster-praktik (
5
)
rx (
4
)
rx-23- (
1
)
rx-ii-03- (
1
)
rx-iii-09- (
1
)
rx-iv (
3
)
s (
2
)
s-class (
8
)
s-class-convertible (
1
)
s-class-coupe (
3
)
s-class-w220-98- (
2
)
s-class-w221-05- (
3
)
s-classe-w222-c217-13- (
2
)
s-max (
13
)
s-max-06- (
1
)
s-max-van (
1
)
s-serie (
3
)
s-serie-16- (
3
)
s-type-99- (
1
)
s-type-ii (
2
)
s40-04- (
3
)
s40-96- (
2
)
s40-i (
2
)
s40-ii (
8
)
s5-22- (
2
)
s60 (
1
)
s60-00- (
4
)
s60-i (
4
)
s60-ii (
7
)
s60-ii-10- (
1
)
s60-ii-cross-country (
3
)
s60-iii (
1
)
s70 (
1
)
s70-96- (
1
)
s80-98- (
4
)
s80-i (
4
)
s80-ii (
14
)
s80-ii-06- (
5
)
s90-16- (
2
)
s90-i (
1
)
s90-ii (
2
)
safe (
1
)
safrane-ii (
1
)
safrane-ii-96- (
1
)
samara (
14
)
samara-hatchback (
7
)
samara-kabriolet (
12
)
samara-saloon (
13
)
sandero (
4
)
sandero-i-09- (
3
)
sandero-ii (
4
)
sandero-ii-14- (
1
)
sandero-stepway-i (
3
)
sandero-stepway-ii (
2
)
santa-f-i (
3
)
santa-f-ii (
5
)
santa-f-iii (
4
)
santa-fe (
3
)
santa-fe-00- (
3
)
santa-fe-ii-06- (
2
)
santa-fe-iv (
4
)
santana (
2
)
saxo (
2
)
saxo-96- (
1
)
sc-convertible (
1
)
sc-nic-i-mpv (
3
)
sc-nic-ii (
9
)
sc-nic-iii (
6
)
scenic-96- (
2
)
scenic-ii-04- (
6
)
scenic-iii-09- (
4
)
scirocco (
1
)
scirocco-08- (
10
)
scirocco-iii (
17
)
scirocco-van (
1
)
scorpio-i (
1
)
scorpio-i-88- (
1
)
scorpio-i-saloon (
1
)
scorpio-i-turnier (
1
)
scorpio-ii (
1
)
scorpio-ii-turnier (
1
)
scudo-96- (
1
)
scudo-bus (
1
)
scudo-van (
2
)
sebring (
2
)
sebring-convertible (
1
)
sebring-coupe (
1
)
sebring-iii-07- (
1
)
sebring-kabriolet (
1
)
seltos (
2
)
sens (
1
)
sens-hatchback (
2
)
sentra-14- (
1
)
sentra-vii (
2
)
sephia (
1
)
sephia-ii-97- (
1
)
sephia-saloon (
1
)
sequoia (
2
)
sequoia-01- (
1
)
serena (
1
)
serie-100 (
2
)
sharan (
11
)
sharan-10- (
7
)
sharan-95- (
1
)
sharan-van (
1
)
shuma-i (
1
)
shuma-i-97- (
1
)
shuma-ii (
1
)
shuma-ii-saloon (
1
)
shuma-saloon (
1
)
shuttle (
1
)
siena (
1
)
sienna (
1
)
sierra-82- (
1
)
sierra-ii (
1
)
sierra-ii-hatchback (
1
)
sierra-ii-turnier (
1
)
signum-02- (
5
)
signum-hatchback (
9
)
silverado-1500-crew-cab-pickup (
2
)
sintra (
1
)
sl (
4
)
sl-class-r231-12- (
1
)
sl-ii (
2
)
slavuta (
2
)
slc (
2
)
slk (
11
)
slk-r170-96- (
2
)
slk-r171-04- (
2
)
slk-r172-11- (
1
)
slr (
1
)
slr-roadster (
1
)
sobol (
12
)
sobol-nn (
2
)
solano-i-10- (
2
)
solara-convertible (
1
)
solara-coupe (
1
)
solaris-saloon (
3
)
sonata (
1
)
sonata-ii (
1
)
sonata-iii (
1
)
sonata-iv (
2
)
sonata-iv-ef-98- (
2
)
sonata-v (
3
)
sonata-v-nf-05- (
1
)
sonata-vi (
1
)
sonata-vi-yf-10- (
1
)
sonata-vii (
4
)
sorento (
1
)
sorento-02- (
1
)
sorento-06- (
2
)
sorento-i (
5
)
sorento-i-van (
1
)
sorento-ii (
2
)
sorento-iii (
1
)
soul-i (
2
)
soul-i-08- (
1
)
soul-ii (
5
)
soul-ii-14- (
1
)
soul-iii (
3
)
soul-iii-19- (
2
)
space-runner (
1
)
space-runner-91- (
1
)
space-runner-mpv (
1
)
space-star-01- (
1
)
space-star-mpv (
3
)
space-wagon (
1
)
spacetourer-bus (
1
)
spark (
1
)
spark-iii (
1
)
spectra (
1
)
spectra-00- (
1
)
speedster (
1
)
sportage (
4
)
sportage-i-93- (
1
)
sportage-ii (
4
)
sportage-ii-04- (
3
)
sportage-ii-van (
1
)
sportage-iii (
8
)
sportage-iii-10- (
4
)
sportage-iv (
4
)
sportage-iv-16- (
1
)
sportage-iv-van (
1
)
sportage-suv (
2
)
sportage-van (
1
)
sprinter (
1
)
sprinter-00- (
1
)
sprinter-06- (
5
)
sprinter-2-t-bus (
3
)
sprinter-2-t-platform-chassis (
3
)
sprinter-2-t-van (
3
)
sprinter-3-5-t-bus (
4
)
sprinter-3-5-t-platform-chassis (
5
)
sprinter-3-5-t-tourer-bus (
1
)
sprinter-3-5-t-van (
5
)
sprinter-3-t-bus (
6
)
sprinter-3-t-platform-chassis (
7
)
sprinter-3-t-tourer-bus (
1
)
sprinter-3-t-van (
8
)
sprinter-4-6-t-platform-chassis (
3
)
sprinter-4-6-t-van (
3
)
sprinter-4-t-bus (
2
)
sprinter-4-t-platform-chassis (
4
)
sprinter-4-t-van (
4
)
sprinter-5-t-platform-chassis (
5
)
sprinter-5-t-van (
4
)
sprinter-95- (
3
)
sprinter-classic-3-5-t-van (
1
)
sprinter-classic-4-6-t-bus (
1
)
sprinter-classic-4-6-t-van (
1
)
sprinter-dumptruck (
1
)
starex-h-1-07- (
1
)
starex-h-1-96- (
3
)
starlet (
1
)
stilo (
7
)
stilo-03- (
4
)
stonic (
1
)
stralis (
2
)
stralis-03- (
2
)
stralis-i (
3
)
stralis-ii (
1
)
stratus (
2
)
stratus-convertible (
1
)
stratus-ii (
1
)
stream (
1
)
suburban (
1
)
suburban-gmt-900-07- (
1
)
sunny (
1
)
sunny-b15-98- (
2
)
sunny-iii (
2
)
sunny-iii-hatchback (
2
)
sunny-iii-liftback (
2
)
sunny-iii-traveller (
2
)
sunray-avtobus (
1
)
super-carry-bus (
1
)
superb-i (
2
)
superb-i-01- (
1
)
superb-ii (
11
)
superb-ii-08- (
10
)
superb-ii-estate (
11
)
superb-iii (
3
)
superb-iii-estate (
6
)
svx (
1
)
swift-05- (
1
)
swift-11- (
1
)
swift-i (
1
)
swift-ii-saloon (
1
)
swift-iii (
1
)
swift-iv (
1
)
sx-325 (
2
)
sx-331 (
2
)
sx-418 (
1
)
sx-425 (
1
)
sx-531 (
1
)
sx4 (
2
)
sx4-ii-13- (
1
)
sx4-s-cross (
1
)
sx4-saloon (
2
)
t (
1
)
t-serie (
1
)
t-serie-13- (
1
)
t1-bus (
1
)
t1-platform-chassis (
1
)
t1-van (
1
)
t2-23- (
1
)
t5g (
1
)
t8 (
1
)
t8-275 (
1
)
t8-300 (
1
)
t8-320 (
1
)
t8-330 (
1
)
t8-350 (
1
)
t8-360 (
1
)
t8-380 (
1
)
t8-390 (
1
)
t8-410 (
1
)
t8-435 (
1
)
tahoe (
3
)
tank-300 (
1
)
tank-500 (
1
)
taurus (
1
)
taurus-wagon (
1
)
tavria (
2
)
teana (
2
)
teana-i (
4
)
teana-ii (
3
)
teana-iii (
1
)
teana-j31-02- (
4
)
teana-l33-13- (
1
)
tercel (
1
)
terracan (
2
)
terracan-01- (
2
)
terrano-ii (
1
)
tga (
4
)
tga-00- (
1
)
tgl-05- (
1
)
tgl-i (
2
)
tgl-ii (
1
)
tgm-05- (
1
)
tgm-i (
2
)
tgm-ii (
1
)
tgs (
1
)
tgs-07- (
1
)
tgs-i (
3
)
tgs-ii (
1
)
tgx (
1
)
tgx-07- (
1
)
tgx-i (
3
)
tgx-ii (
2
)
thalia-i (
4
)
thalia-ii (
2
)
tianlong (
2
)
tico (
1
)
tiggo (
2
)
tiggo-4 (
2
)
tiggo-4-17- (
2
)
tiggo-4-pro (
2
)
tiggo-4-pro-20- (
2
)
tiggo-5x-tiggo-4 (
3
)
tiggo-7 (
3
)
tiggo-7-16- (
2
)
tiggo-7-pro-20- (
1
)
tiggo-7-pro-max (
1
)
tiggo-8 (
2
)
tiggo-8-18- (
2
)
tiggo-8-plus-tiggo-8-pro (
1
)
tiggo-8-pro (
3
)
tiggo-8-pro-21- (
1
)
tiggo-8-pro-max (
1
)
tiggo-fl (
2
)
tiggo-fl-13- (
1
)
tiggo-t11-06- (
1
)
tigra-twintop (
1
)
tiguan (
18
)
tiguan-08- (
13
)
tiguan-allspace (
3
)
tiguan-van (
1
)
tiida (
2
)
tiida-04- (
1
)
tiida-hatchback (
3
)
tiida-latio (
2
)
tiida-saloon (
2
)
tipo-estate (
1
)
tipo-hatchback (
1
)
tipo-saloon (
1
)
tlb-815 (
1
)
tlb-820 (
1
)
tlb-825 (
1
)
tlb-860 (
1
)
tlb-970 (
1
)
tlb-980 (
1
)
toledo-04- (
4
)
toledo-i (
1
)
toledo-ii (
6
)
toledo-iii (
14
)
toledo-iv (
9
)
toscana (
5
)
touareg (
12
)
touareg-02- (
6
)
touareg-ii-10- (
5
)
touareg-van (
1
)
touran (
17
)
touran-03- (
4
)
touran-ii-10- (
2
)
touran-van (
6
)
tourneo-connect (
1
)
tourneo-custom-12- (
2
)
tourneo-custom-v362-bus (
2
)
tracker (
1
)
trajet (
5
)
trajet-00- (
2
)
trakker (
1
)
trakker-04- (
2
)
trakker-12- (
1
)
trakker-i (
3
)
trakker-ii (
1
)
transit-86- (
1
)
transit-94- (
1
)
transit-bus (
3
)
transit-connect (
1
)
transit-connect-02- (
1
)
transit-custom-12- (
2
)
transit-custom-v362-bus (
2
)
transit-custom-v362-van (
2
)
transit-ix-13- (
2
)
transit-platform-chassis (
5
)
transit-tourneo-bus (
3
)
transit-v363-bus (
2
)
transit-v363-platform-chassis (
2
)
transit-v363-van (
2
)
transit-van (
5
)
transporter-t4-bus (
3
)
transporter-t4-platform-chassis (
3
)
transporter-t4-van (
3
)
transporter-t5-03- (
1
)
transporter-t5-bus (
6
)
transporter-t5-platform-chassis (
6
)
transporter-t5-van (
6
)
transporter-t6-15- (
3
)
transporter-t6-caravelle-t6-bus (
3
)
transporter-t6-platform-chassis (
3
)
transporter-t6-van (
3
)
traveler-t2 (
1
)
traveller-16- (
1
)
traveller-bus (
1
)
trax-tracker (
9
)
tribeca (
1
)
tribute (
3
)
tribute-00- (
1
)
tt (
8
)
tt-06- (
1
)
tt-roadster (
8
)
tucson (
7
)
tucson-i-04- (
3
)
tucson-iv-18- (
1
)
tucson-suv-van (
1
)
tundra (
2
)
tundra-00- (
1
)
tundra-pickup (
2
)
twingo-07- (
4
)
twingo-ii (
4
)
txl (
1
)
txl-19- (
1
)
u5-plus (
1
)
u5-plus-21- (
1
)
uaz-31514 (
4
)
uaz-31519 (
4
)
uaz-3962 (
2
)
ulysse (
1
)
uni-k (
2
)
uni-k-20- (
1
)
uni-t (
1
)
uni-t-20- (
1
)
uni-v (
1
)
uni-v-22- (
1
)
up (
2
)
v-class (
4
)
v-class-van (
1
)
v40-12- (
3
)
v40-95- (
1
)
v40-cross-country (
2
)
v40-estate (
1
)
v40-hatchback (
3
)
v50 (
8
)
v50-04- (
5
)
v60-i (
3
)
v60-i-cross-country (
2
)
v70 (
1
)
v70-00- (
2
)
v70-07- (
4
)
v70-97- (
2
)
v70-i (
2
)
v70-ii (
6
)
v70-iii (
12
)
v8 (
1
)
v90 (
1
)
v90-16- (
2
)
v90-97- (
1
)
v90-i-estate (
1
)
v90-ii-cross-country (
2
)
v90-ii-estate (
2
)
va-3-19- (
2
)
va3 (
2
)
valdai (
1
)
valdai-next (
1
)
vaneo (
1
)
vanette-cargo-van (
1
)
vario-bus (
1
)
vario-dump-truck (
1
)
vario-platform-chassis (
1
)
vario-van (
1
)
vaz-2101 (
5
)
vaz-2102 (
5
)
vaz-2103 (
5
)
vaz-2106 (
5
)
vaz-2107 (
5
)
vectra (
1
)
vectra-a (
1
)
vectra-a-hatchback (
1
)
vectra-b (
3
)
vectra-b-95- (
2
)
vectra-b-estate (
3
)
vectra-b-hatchback (
3
)
vectra-c (
11
)
vectra-c-02- (
7
)
vectra-c-estate (
11
)
vectra-c-gts (
11
)
vektor-410 (
1
)
vel-satis (
6
)
veloster (
2
)
venga (
3
)
venga-10- (
1
)
venga-hatchback-van (
2
)
vento (
2
)
vento-92- (
1
)
venza (
1
)
verossa (
1
)
verso (
1
)
vesta (
17
)
vesta-sw-estate (
17
)
viano (
4
)
viano-w639-03- (
3
)
vios-soluna-vios (
1
)
vis-1705 (
9
)
vis-2345 (
5
)
vis-2347 (
9
)
vision-saloon (
1
)
vitara (
3
)
vitara-15- (
1
)
vitara-96- (
2
)
vito-bus (
5
)
vito-mixto-van (
4
)
vito-tourer (
1
)
vito-van (
3
)
vito-w638-96- (
2
)
vito-w639-03- (
3
)
vivaro-a-bus (
3
)
vivaro-a-van (
2
)
vivaro-c-19- (
1
)
vivaro-c-bus (
1
)
vivaro-c-van (
1
)
volga (
8
)
volga-31105 (
9
)
volga-estate (
8
)
volga-siber (
1
)
voyager-grand-voyager-ii (
1
)
voyager-grand-voyager-iii (
1
)
voyager-ii (
1
)
voyager-iii-95- (
1
)
voyager-iv (
1
)
vs-5-19- (
2
)
vs-7-20- (
2
)
vs5 (
2
)
vs7 (
2
)
vx (
1
)
vx-21- (
1
)
wagon-r-hatchback (
1
)
winstorm (
1
)
wrangler-iii (
1
)
wrangler-jk-07- (
1
)
wrx-saloon (
1
)
x-cross-7-24- (
1
)
x-trail (
5
)
x-trail-i (
3
)
x-trail-ii (
5
)
x-trail-iii (
4
)
x-trail-t30-01- (
1
)
x-trail-t32-14- (
3
)
x1 (
6
)
x1-e84-09- (
2
)
x1-f48-15- (
1
)
x1-indis-beat (
1
)
x2 (
1
)
x3 (
12
)
x3-e83-04- (
8
)
x3-f25-10- (
1
)
x3-g01-17- (
1
)
x3-van (
1
)
x35-21- (
1
)
x4 (
5
)
x4-f26-14- (
2
)
x4-g02-18- (
2
)
x5 (
13
)
x5-e53-99- (
8
)
x5-e70-07- (
4
)
x50 (
3
)
x50-15- (
1
)
x50-23- (
1
)
x6 (
4
)
x6-e71-08- (
3
)
x6-f16-14- (
1
)
x60 (
1
)
x60-11- (
1
)
x60-fl-16- (
1
)
x7 (
1
)
x70-plus (
1
)
x70-plus-20- (
1
)
x70-pro (
1
)
x90-plus (
1
)
x90-plus-21- (
1
)
xc40 (
2
)
xc40-18- (
2
)
xc60-17- (
1
)
xc60-i-suv (
7
)
xc60-ii (
1
)
xc70-97- (
2
)
xc70-i-cross-country (
3
)
xc70-ii (
6
)
xc90-02- (
4
)
xc90-15- (
2
)
xc90-i (
5
)
xc90-ii (
2
)
xceed (
1
)
xceed-van (
1
)
xedos-6 (
1
)
xf (
2
)
xf-105 (
1
)
xf-105-05- (
1
)
xf-106-13- (
2
)
xf-95 (
2
)
xf-95-02- (
2
)
xf-ii (
2
)
xg (
4
)
xg-21- (
3
)
xingyue (
1
)
xingyue-l (
1
)
xingyue-s (
1
)
xingyue-tugella (
1
)
xj (
1
)
xk-8-convertible (
1
)
xk-ii-coupe (
1
)
xray (
16
)
xsara (
3
)
xsara-break (
3
)
xsara-coupe (
3
)
xsara-estate-van (
1
)
xsara-hatchback-van (
1
)
xsara-ii-00- (
3
)
xsara-picasso (
6
)
xv (
1
)
xv-11- (
1
)
yaoguang (
1
)
yaris (
2
)
yaris-99- (
1
)
yaris-verso (
1
)
yaris-vios-saloon (
1
)
yeti (
13
)
yeti-09- (
8
)
ypsilon (
1
)
z3-coupe (
1
)
z3-roadster (
2
)
z4-coupe (
1
)
z4-e85-05- (
1
)
z4-roadster (
3
)
zafira-a-99- (
2
)
zafira-a-mpv (
5
)
zafira-b-05- (
1
)
zafira-b-box-body-mpv (
5
)
zafira-c (
4
)
zafira-c-11- (
5
)
zafira-life-19- (
1
)
zafira-life-bus (
1
)
zafira-tourer-c (
10
)
zafira-zafira-family-b (
16
)
zeta (
1
)
zz-3257 (
1
)
zz-3317 (
1
)
Отечественные
(
67
)
Иномарки
(
373
)
Грузовые
(
41
)
температура открытия, ?с
-
(
2
)
100
(
5
)
101
(
1
)
103
(
13
)
105
(
36
)
105/83
(
3
)
109
(
1
)
113
(
3
)
49
(
1
)
65
(
1
)
70
(
5
)
71
(
1
)
72
(
1
)
75
(
9
)
76
(
5
)
77
(
1
)
78
(
8
)
79
(
4
)
80
(
19
)
80/87
(
3
)
80/87°С
(
1
)
80/89
(
1
)
80/95
(
1
)
81
(
1
)
82
(
81
)
83
(
12
)
83/83
(
1
)
83/87
(
4
)
85
(
26
)
85 (±2)
(
2
)
86
(
3
)
87
(
42
)
88
(
25
)
89
(
12
)
89/96°С
(
2
)
90
(
20
)
91
(
7
)
92
(
23
)
93
(
3
)
94
(
1
)
95
(
24
)
96
(
1
)
97
(
13
)
98
(
9
)
Показать все
материал корпуса
Алюминиевый
(
1
)
Алюминий
(
97
)
алюминий / пластик
(
1
)
Пластик
(
133
)
основной клапан
Обрезиненный
(
152
)
Обрезиненный клапан
(
1
)
комплектация
2 термоэлемента + 4 уплотнительные прокладки
(
1
)
2 термоэлемента + уплотнительная прокладка
(
1
)
2 уплотнительные прокладки
(
1
)
2 уплотнительных кольца
(
1
)
Пружина, крепление, уплотнительная прокладка
(
1
)
Термоэлемент, пружина, крепление, уплотнительное кольцо
(
2
)
Термоэлемент, пружина, крышка
(
1
)
Термоэлемент; пружина; крышка
(
3
)
Термоэлемент; пружина; скоба (без уплотнительной прокладки)
(
1
)
Уплотнительная прокладка
(
411
)
Уплотнительная прокладка - 2 шт.
(
3
)
Уплотнительная прокладка, датчик температуры
(
2
)
Уплотнительная прокладка, термоэлемент, пружина, крепление
(
2
)
Уплотнительная прокладка; 2 быстросъема
(
1
)
Уплотнительная прокладка; 3 крепежных болта.
(
1
)
Уплотнительная прокладка; крепежные болты - 3 шт., гайки - 3 шт.
(
1
)
Уплотнительная прокладка; крепежные болты - 3 шт., стопорное кольцо - 3 шт.
(
4
)
Уплотнительная проклалка
(
2
)
Уплотнительное кольцо - 2 шт.; гайка - 3 шт.; стопорная шайба - 3 шт.
(
1
)
Уплотнительные прокладки
(
1
)
Уплотнительня прокладка
(
1
)
Показать все
вид эксплуатации
Электронное управление
(
85
)
Электронное управление (встроенный блок управления)
(
2
)
двигатель
[1103С-33Т, 1104C-44T, 1104D-44TA, 1104D-44T]
(
1
)
[1G-FE]
(
1
)
[1UR-FE; 1UR-FSE; 3UR-FE; 2UZ-FE]
(
1
)
[276DT]
(
2
)
[2GR-FSE; 3GR-FSE; 4GR-FSE]
(
1
)
[2ZR-FXE]
(
1
)
[491Q-E] Euro 3
(
1
)
[4G20];[4G24]
(
1
)
[8AR-FTS]
(
2
)
[A 22 DM; LNQ; LNP]
(
1
)
[A25A-FKS]
(
1
)
[AWY,BMD,AZQ,BME,CGPC]
(
1
)
[B 4204; D4204; JLH-4G20TDB]
(
1
)
[B38; B46; B48]
(
1
)
[B46; B48]
(
1
)
[BGB; BPG; BWE; BWT; BUL; BPJ, BYK]
(
1
)
[BVJ; BAR; CGNA]
(
1
)
[CAAA, CAAB, CAAC, CCHA, CFCA, CAAE, CCHB]
(
1
)
[CAVA, CTHA, CAVB, CTHB, CAVC, CTHC, BLG, BMY, CAVD, CTHD, BWK, CNWB, CTKA, CNWA, CAVG, CAVE, CTHE, CTHG]
(
3
)
[CAXA]
(
3
)
[CBZA;CBZB]
(
1
)
[CDHB; CDHA; CABA; CABB]
(
1
)
[CFGC, CLLB, CFFB, CFFA, CLJA, CFHC, CFHF, CLCA, CFFD, CFGB, CFGC, CFGD, CBAA, CBAB, BMM, BMN, AZV, CFJA, BKD, CBBB, DFSA, CUVE, CUVA, DFLD, DLTC]
(
1
)
[CFNA; CFNB; CLSA; CLRA; CAXA; CAXC; BTS]
(
1
)
[CFNA; CFNB; CLSA; CLRA]
(
1
)
[CG10DE; CG12DE; CR14DE]
(
1
)
[CGGB; BXW]
(
2
)
[CRBC, CRLB, CRUA, DBGA, DCYA, DEJA, CUVC, CUWA, CAAA, CXGA, CAAB, CXGB, CKFC, CRBC, CRLB, CRMB, DFFA, DFGA, DFHA, DBGC, DFGA, DTSB]
(
1
)
[CZCA, CZDB (09.21-.), CZDA, CZEA, CWLA, DGXA, DJXA, DSJA, DJKA, DGEA]
(
1
)
[D4CB;D4BA]
(
1
)
[D4DD;D4AL]
(
1
)
[D4GA]
(
1
)
[D5244; D5204]
(
1
)
[ERB; EHD]
(
1
)
[EXF, EXN]
(
2
)
[F1CE0481FA]
(
1
)
[F1CFL411E; F1CFL411J; F1CE3481J]
(
1
)
[F3AE0681]; [F3BE0681]; [F3AE3681]; [F3HFE611]
(
1
)
[FB16;FB20;FB25]
(
1
)
[G16B; M15A; M16A]
(
1
)
[G21A]
(
1
)
[G4KJ]
(
1
)
[G4LC; G4LD; G4FA]
(
1
)
[GW4B15]
(
2
)
[GW4C20]
(
1
)
[H4M]
(
1
)
[HFC4DB2-1D]
(
1
)
[JQMA, JQMB]
(
1
)
[JTMA; JQDA; JQDB; B4164T]
(
1
)
[K20A4; K20A3; K20A2]
(
1
)
[K4M]
(
4
)
[K9K]
(
1
)
[KDX (TU3MC); KFW (TU3JP); KFX (TU3JP); KFV (TU3A); KFV (TU3JP); NFU (TU5JP4)]
(
1
)
[M111]
(
1
)
[M112; M113]
(
1
)
[M20A-FKS]
(
1
)
[M270]
(
2
)
[M271]
(
1
)
[M40; M42; M50; M52]
(
1
)
[M43]
(
1
)
[M8DA, M8DB, M8MA, M8MB]
(
1
)
[N13 B16 A]
(
1
)
[N47;N57]
(
1
)
[N52;M54;N62]
(
1
)
[N62]
(
2
)
[OM 457; OM 541; OM 900; OM 902; OM 904; OM 906; OM 924; OM 926; D 0824; D 0826; D 0834; D 0836; D 2066; D 2865; D 2866]
(
1
)
[OM 471]
(
1
)
[OM 541; OM 900; OM 902; OM 904; OM 906; OM 924; OM 925]
(
1
)
[OM 654]
(
1
)
[OM642]
(
2
)
[QR20DE]; [QR25DE]; [VQ25DE]
(
1
)
[VK45DE]; [MR16DDT]; [QR20DE]; [MR20DD]; [MR20DE]; [QR20DE]; [QR25DE]; [M4R 710]; [M4R 711]; [M4R 713]; [M4R 700]; [M4R 701]; [M4R 714]; [M4R 751]; [M4R 704]; [2TR 700; 2TR 703; 2TR 702]; [M4R K 737]
(
1
)
[VK56VD]
(
1
)
[VQ25DE; VQ35DE; VQ23DE]
(
1
)
[VQ35DE]
(
1
)
[Z 14 XE; X 14 XE; Z 14 XE; Z 16 XE; X 16 XEL; LDA; Z 16 YNG]
(
1
)
Показать все
температура начала открытия
49°C
(
1
)
Выбрано:
0
Показать
Показать по:
12
24
48
60
3
4
5
6
7
№
37
новинка
Термостат для а/м Chevrolet Cobalt (11-)/Daewoo Gentra (13-) 1.5i (72°С) (c корпусом)
Код товара:
LT 0572
ОЕМ номер:
96940086
25193412
Термостат для а/м Chevrolet Cruze (09-)/Aveo T300 (11-) 1.6i/1.8i (в сборе с пласт. корп.)
Код товара:
LT 0547
ОЕМ номер:
71744389
71739800
71770832
1338178
6338018
1338177
55353311
55559594
25192230
6338044
1338256
Термостат для а/м DongFeng DHF4180 GX (13-) 13.5d Euro 6 (88°С) (термоэлемент)
Код товара:
LT 3044
ОЕМ номер:
C3696215
Термостат для а/м Hyundai HD/County/Mighty (98-) 3.3d/3.9d [D4DD;D4AL] (82°С) (термоэлемент)
Код товара:
LT 0839
ОЕМ номер:
2551045501
2551045500
Термостат для а/м Hyundai Tucson (04-)/Santa Fe (06-)/KIA Sportage II (04-) 2.0D/2.2D (85°С) (термоэлемент) (LT 0807)
Код товара:
LT 0807
ОЕМ номер:
2550027000
Термостат для а/м Iveco Stralis (03-)/Trakker (04-)/Eurotrakker (99-)/Eurostar (93-) (79°С) (термоэлемент)
Код товара:
LT 1601
ОЕМ номер:
504071087
Термостат для а/м Land Rover Discovery III (04-) 2.7D Euro 2/3 (82°C) (c корпусом)
Код товара:
LT 1023
ОЕМ номер:
PEL500320
Термостат для а/м Land Rover Discovery III (04-)/IV (09-) 2.7D E4 (82°C) (с корпусом)
Код товара:
LT 1027
ОЕМ номер:
LR009562
PEM500191
PEM500210
Термостат для а/м Opel Corsa D (06-) 1.2i/1.4i (103°С) (с алюминиевым корпусом)
Код товара:
LT 2122
ОЕМ номер:
1338029
1338261
55579011
1338379
55561629
55593033
Термостат для а/м PSA 308 (07-)/C4 (08-) 1.6i AT (105°C; АЛЮМИНИЕВЫЙ корпус, аналог 1336.Z6)
Код товара:
LT 2026
ОЕМ номер:
11537534521
1336.Z6
9810916980
Термостат для а/м PSA 308 (07-)/C4 (08-) 1.6i MT (105°C; АЛЮМИНИЕВЫЙ корпус, аналог 1336.Z8)
Код товара:
LT 2048
ОЕМ номер:
1336.Z8
9810916880
Термостат для а/м PSA 308 (11-)/C4 (10-) 1.6i (92°C; низкотемпературный аналог 1336.CC)
Код товара:
LT 2009
ОЕМ номер:
1336.CC
3
4
5
6
7
№
37
Официальный интернет-магазин
carvilleshop.ru
О компании
Точки продаж
Обучение LUZAR
Академия LUZAR
Обучающая библиотека
Гарантия
Новости
Материалы
Контакты
Вопрос-ответ